长久以来,在设计专利侵权诉讼中,被告将功能性设计与非显而易见性用来作为专利权无效的积极抗辩,在这前提概念下,一个不是装饰性的设计不具可专利性,而设计是否具有装饰性,应就个案的基础事实个别处理,必须藉由发明专利或关于设计取决于功能性考虑因素的分析加以证明。设计专利被推定有效,因此,寻求在简易判决中使设计专利无效的请求方必须提交非常明确和令人信服的无效事实证据,否则,法院将无法做出无效的判断[1]。
※本期为「CAFCCAFC确认设计专利因功能性及显而易见性而无效之决定(二)」之第三部分
 图片来源 : shutterstock、达志影像
地方法院对于D828专利的功能性审理
地方法院裁定D828专利无效,因为它的设计是由功能性决定的。TB UK响应称地方法院误用了Sport Dimension案件与功能相关的五因素检测。TB UK辩称,地方法院未能解决有争议的因素,有利于他们,而非请求方,并在认定专利设计是「由功能性决定」而不是「完全由功能性决定」时应用了错误的法律标准。作为响应,GEM则主张,地方法院在认定专利受功能性支配时,正确应用了 Sport Dimension检测及法律标准。
CAFC指出将审查地方法院的裁决是否存在明显错误,并概述了用于确定设计是否由功能性决定的五因素。法院考虑是否(1)最佳设计是受保护的设计,(2)替代设计会对指定物品的实用性产生不利影响,(3)是否有任何相对应的发明专利,(4)该设计将任何特定功能吹捧为具有特定功效,并且(5)设计中的任何元素或整体外观显然不是由功能决定的。原告的专家Fletcher测量了每一个包的尺寸,将它们与购物车的尺寸进行比较,他得出结论,「被告袋子的深度是功能性的,由功能性决定,因为它们的设计适合标准尺寸购物车的容量」。
最佳设计和替代设计
原告主张,与最佳和替代设计有关的第一个和第二个因素有利于认定被告的D828专利设计是由功能性决定的,因为「有专利的设计清楚地代表了任何提议替代设计的最佳可用设计,而这些替代设计对影响专利设计的功能。」被告响应说,有替代设计可以实现与D828专利的购物袋比例相同的功能目的,例如:选择使用两个购物袋而不是一个,这确立了「请求保护的设计不是由功能性决定的。原告响应说,「通过扩大袋子的设计来改变袋子的设计并不是一个真正的选择,因为它会对指定物品的实用性产生不利影响。」
双方都依赖Ethicon案[2]作为支持替代设计因素对法院认定D828专利功能无效的原因的支持或反对。在Ethicon案中,CAFC院强调,仅仅因为外观设计专利中请求保护的产品具有功能性目的,并不意味着整个外观设计本身在功能上是无效的。Ethicon原告起诉被告涉嫌侵犯几项发明和设计专利,这些专利与「使用高频振动刀片产生的超声波能量切割组织和血管的手术器械」有关。在上诉中,CAFC对该专利进行了解读,并撤销了地方法院基于功能性的无效认定。它认为「地方法院使用过高的抽象程度评估了主张的设计,重点关注底层物品的无人认领的实用性特征,而不是主张的底层物品的装饰性设计」。在验证专利时,法院重申,被告「没有通过明确和令人信服的证据表明没有替代设计......允许底层超声波剪切机发挥其预期功能。」[3]
在评估主张的设计是否作为功能性无效时,CAFC审查了地方法院对替代设计的分析。专利权人「提供了替代装饰设计的证据,这些设计可以提供与底层超声波剪切机相同或相似的功能」,试图证明该设计在功能性并非无效。然而,CAFC的结论是,首先,地方法院基于「替代设计没有同样好地工作,显然描述了外科医生对某些基本设计概念的偏好,没有功能上的差异不同设计的超声波剪切机。因此,该决定需要撤销,因为在功能分析下,偏好是不适当的考虑因素。其次,要被视为替代方案,替代设计必须简单地提供「相同或相似的功能能力」。这是因为「要获得专利,不能只有一种可能的装饰形式的物品可以发挥其功能。
在本案中,TB UK提出的替代设计的唯一证据是他们的袋子可以更小或更大这样它们会或不会装满整个购物车。然而,它们仍具有相同的形状,例如,矩形和结构。法院认为,与Ethicon不同,即使某些外科医生更喜欢一种设计,也可以使用替代设计来实现相同的目的,在本案中,另一种设计——例如三角形或圆形的不同形状的袋子,会直接影响袋子的功能,因为需要更多或更少的袋子,妨碍水平杆的易用性,或者使袋子更难携带。替代设计可能会影响拉杆包的实用性和成本。例如:如果袋子尺寸较小,它们将无法携带尽可能多的产品,这将直接影响它们的实用性。然而,较小的包也可能更轻、更容易携带并且价格更便宜[4]。在In Inwood Labs案件[5],美国最高法院的O’Connor法官提出来的功能性特征定义,「一般而言,产品的特征是物品使用或达成该物品之目的所不可或缺的,或是会影响该物品的成本或质量,该特征则为功能性特征[6]。或者,如果被告增加袋子的尺寸,一个推车中的袋子会减少,每一单独的袋子会更重,袋子的成本可能会更高。被告提出的一种替代设计(例如,改变尺寸)似乎直接影响了D828专利的功能,这有利于发现功能性。
CAFC站在 GEM 一边,认为地方法院在认定D828专利的设计具有功能性,并没有犯明显的错误。请求保护设计的水平杆用于将袋子直立在推车中。替代设计将对袋子系统的功能产生直接和不利的影响。这一发现有利于根据Sports Dimension 检测的第一、第二和第五个因素认定专利无效。关于第三个因素,地方法院认定,属于TB UK 的Doyle在爱尔兰不属于发明专利,Brennan专利也不属于TB UK。基于这些调查结果,法院认为这一因素不利于或反对无效。原告还主张,Doyle 专利将D828专利的每个材料元素都描述为功能性的,这意味着被告无法克服其专利中请求保护的材料元素的功能性证据。因此,Trolley Bags的产品的功能性似乎与在Best Lock中发现钥匙片毛胚无效的功能性一样。
相对应的发明专利
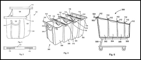
Doyle专利是Paul Doyle于2009年9月18日提交的爱尔兰专利申请No. S2009/0718是针对「可重复使用的袋子系统」,2010年8月18日公告[7],Doyle 专利(如图6)已在2018年9月过期,但当时所有者显示为「Trolley Bags Ltd」,Doyle 专利是 Trolley Bags自己的专利。原告指出,被告「甚至没有试图争辩说 Doyle 没有明确请求保护各种设计元素」,而是辩称Doyle专利不应仅仅因为发明人在起诉D828专利。原告还主张,Doyle专利将D828专利每个材料元素都描述为功能性的,这意味着被告无法克服其专利中请求保护的材料元素的功能性证据。
图6:Irish Patent Pub. 2009/0718(Doyle专利)

尽管法院在解释D828专利时遵循了附图,但法院将有争议的权利请求项描述为一种可折迭的织物袋,底部有网眼,顶部有两个提手,没有口袋。原告GEM主张,「选择袋子的尺寸是基于两个考虑:一个是购物车,另一个也是实际用途,比如太大或太小。」原告指出,Trolley Bags 的专家「提出了替代设计,例如更大的袋子或尺寸更浅的袋子,但这样的设计肯定不是最好的设计」,并且会「对专利设计的功能性产生不利影响」。如前所述,原告在简报中提到的唯一替代设计是袋子或多或少,大小不一。更少的袋子会使袋子更重,更难携带。更多的袋子会使每个袋子更轻,但也会限制每个袋子可以容纳的物品的大小和数量。因此,法院认为两个袋子的尺寸 (1) 大致相等,并且 (2) 并没有强烈支持它是最佳设计,除非原告提及的尺寸仅限于袋子的宽度(例如,因此它们适合放在购物车中)而不是深度。话虽如此,替代设计的因素似乎直接影响袋子系统的功能,这有利于认定专利无效。
备注:
-
参见 Spigen Korea Co. v. Ultraproof, Inc., 955 F.3d 1379, 1383 (Fed. Cir. 2020).。
-
参见Ethicon Endo-Surgery v. Covidien, Appeal No. 14-1370 (Fed. Cir. 2015)。
-
参见Ethicon,796 F.3d at 1331。
-
参见Inwood Labs., Inc. v. Ives Labs., Inc. , 456 US 844, 850-51, n.10, 102 S.Ct. 2182, 72 L.Ed.2d 606 (1982)。
-
参见In Inwood Labs., Inc. v. Ives Labs., Inc., 456 U.S. 844, 851 (1982)。
-
同前注。
-
参见Irish Patent Application No. S2009/0718. https://eregister.ipoi.gov.ie/HttpHandler/Handler.ashx?HandlerType=PDF&DocumentType=PT&DocumentId=22647959。
好消息~北美智权报有微信公众号了!
《北美智权报》内容涵盖世界各国的知识产权新闻、重要的侵权诉讼案例分析、法规解析,以及产业与技术新知等等。
立即关注北美智权微信公众号→ NAIP_IPServices
~欢迎读者分享与转发~ |
 |
|
【本文只反映专家作者意见,不代表本报立场。】
 |
|
| 作者: |
叶雪美(Sherry H.M. Yeh) |
| 学历: |
(台湾) 世新大学法律研究所法学硕士
(台湾) 成功大学工业设计系学士 |
| 经历: |
(台湾) 「智慧财产局」专利一组 简任专利高级审查官 (台湾) 中央标准局新式样专利主任审查员(75-76)
(台湾) 中央标准局专利审查委员(80-89)
(台湾) 台湾科技大学 专利所 兼任助理教授 |
| 著作: |
《美国外观设计侵害认定相关问题研究-兼论我国新式样专利侵害认定问题》,2004。
《外观设计申请实务-台湾及美国专利申请策略》,元照出版公司,2008。 |
|
|
|