苹果创办人乔布斯(Steve Jobs)曾在第一代苹果发布会(Macworld 2007)上说了这句名言:「谁还需要触控笔?」(Who wants a stylus?)
接着iPhone手机风靡全球,伸出手指即可轻松操作电容式触控屏幕,触控笔似乎真的成了一项略显「多余」的配件。
不过,2014年起移动设备不断朝大屏幕发展,就连苹果也不得不拾回这只「笔」,在触控笔相关专利布局上不遗余力。2015年,触控笔已经准备好重回市场主流,很有可能在苹果下一波推出的「iPad Air Plus」或「iPad Pro」,就会看到触控笔现身。
2014年5.5吋平板手机崛起
智能手机屏幕从2013年起持续往「大屏幕」方向发展,根据IDC(国际数据信息¬)统计, 5吋以上智能手机已成为2014年市场主流,占比高达六成七,其中5.5吋以上的平板手机(Phablet),在第三季数量占比更达到32%(请见图一)。值得注意的是,5.5吋以上大屏幕手机在2014年出货量首度超越平板,甚至比NB和PC出货表现更为优异。
IDC预测,2015 年台湾移动设备(智能手机、平板计算机、与笔记本电脑)总量将突破1,200万台,不仅产品及应用型态更为多元,新一波移动设备的平台与应用竞争也将更加白热化。
图一、台湾智能手机尺寸出货占比(2013年Q3~2014年Q3)

图片来源:IDC
即便大屏幕智能手机当道,平板目前位居下风,但是今年新推出的平板同样也打大屏幕战。市场传言苹果今年可能推出12.2吋的新款「iPad AirPlus」,甚至是12.9吋的「iPad Pro」,目标锁定企业用户及学校、政府机构,凯基证券(KGISecurities)分析师Ming-Chi Kuo先前曾经预测,苹果将会在今年下半年发表12.9吋的iPad Pro,并因应大型平板搭配苹果自行研发的触控笔。
其实Toshiba等大厂在2015年美国消费电子展(CES)都主打支持触控笔的平板,但是若连苹果都推出触控笔产品,才是大大的话题。因为苹果创办人乔布斯(Steve Jobs)生前曾公开表示触控笔是个多余的装置,在电阻式触控时代,手机和PDA是搭配触控笔使用,直到苹果推出电容式触控,iPhone这个以手指操控移动设备的划时代产品,才将触控笔打入冷宫。
图二、Toshiba新推出的平价平板Encore 2 Write Windows 8.1,有8吋和10吋两种款式,共同的卖点都是支持触控笔。

图片来源:CNET
不过这几年来移动设备屏幕愈做愈大、苹果早已弃守Jobs当初对于3.5吋iPhone的坚持,最新一代的iPhone6Plus更是拥抱5.5吋屏幕成为大屏幕平板手机,对于这些大屏幕设备来说,搭配触控笔操作可能更有效率。
因此触控笔从2014年又卷土重来,触控笔电与平板搭配触控笔出现明显成长,苹果近年取得至少22项关于触控笔的专利,从已经获证的专利观察,iPen可应用在智能手机与平板的功能丰富,若苹果真将触控笔产品化加入市场战局,有机会带动触控笔全新风潮。
苹果触控笔 专利揭露多元功能
美国专利商标局在2014年12月30日公布一项苹果新获得的专利,名为「通讯触控笔」(Communicatingstylus,USPTO专利编号:US8,922,530)。苹果发明的触控笔,可透过内建陀螺仪与加速传感器侦测手写的动作,再将手写内容传输到iPhone、iPad或其他电子设备的屏幕上。
「凌空书写」是苹果触控笔和一般触控笔最大的差异,触控笔不一定要与屏幕接触,不管是水平、垂直或是「隔空」拿着,都可以手写使用。专利内容也显示,只要在一块空白的电子模块上进行手写,内容会传输到周围的电子设备屏幕上,这项功能对于主打商业用途、企业客户的「iPad Pro」来说十分实用。
图三、苹果触控笔可以在一块空白的电子模块上进行手写,其内容会传输到周围的电子设备屏幕上。

图片来源:USPTO
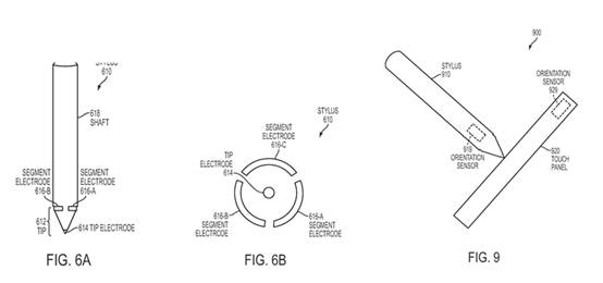
此外,苹果也针对触控笔定位检测申请专利(专利名称Stylusorientation detection,专利编号:US 8,638,320),可透过定位检测来计算触针与接触面的方向。从该专利发现苹果将触控笔模块化,基本模块包括触控笔笔尖,扩充模块衍生出来的功能十分多元,包括一个或多个电源、相机、音频记录器、通信电路、陀螺仪、加速计、投影仪等。
图四、苹果透过定位检测计算触控笔与接触面的方向,有助改善触控笔书写的真实感。

图片来源:USPTO
至于苹果将触控笔模块化之后,未来可能具备的功能究竟有哪些呢?
投影(The Projection Feature)
苹果指出,投影可以用来显示在表面上的图像,并允许用户透过移动触笔横跨投影图像来编辑文文件。投影仪可以包括在基本模块内,或是放置于扩充模块中。突起电路包括一台投影机或其他合适的成像装置,以弥补由投影电路而引起的投影表面失真。
图五、苹果触控笔的投影功能示意图

图片来源:Patently Apple
相机功能(The Camera Feature)
从触控笔专利的扩展模块中还发现提供摄影功能,可用于拍摄或存储图像。与模块联系在一起的无线通信电路,可将相机里的影像数据传达到桌面计算机、笔记本电脑、平板等各种远程计算机设备,也可以透过蓝芽、Wi-Fi或3G、4G进行传输。
图六、苹果触控笔的相机功能示意图

图片来源:Patently Apple
音频纪录功能(The Audio Recording Feature)
苹果的音频记录器包括一个播放记录音频数据的扬声器,扩展模块还可以具有多个按钮、开关或其它输入设备,提供用户执行一个或多个录音,也能停止、播放、快转和倒转。音频纪录功能与相机功能相同,能将录音档传送到其他远程设备,像是iMac、MacBook、iPad等装置。
图七、苹果触控笔的音频纪录功能示意图

图片来源:Patently Apple
由于iPhone 6及iPhone 6plus热销,苹果下一步可能舍弃销售乏力的iPad mini系列产品,主力转向大屏幕的iPad Pro。光是变化屏幕大小仍不够,藉由搭配触控笔这项新配件,将能衍生出许多新花样,不过触控笔并非必需品,因此在价格考虑下,推估只会以配件方式提供消费者选购。
触控笔重返主流 台厂「笔」画高下
提到台湾开发制造触控笔的厂商,首先会想到触控IC厂商义隆电子(可参考北美智权报96期文章「摸得到的触觉回馈 vs. 摸不到的悬浮触控」
),义隆电在触控笔方面布局已久,初期开发较为低价触控笔,两年前就曾经领先推出悬浮技术的触控笔,可在笔上加入按钮、感应Z轴压力度,手掌也可放在屏幕上休息。今年MWC大会上,义隆电公开发表主动式电容触控笔,预计在上半年陆续出货。
2010年在Kickstarter平台上募资成立的Adonit,则由一群出身于苹果的台湾及美国科技菁英组成,他们企图扭转外界对于触控笔只是「配角」的印象,研发出Adonit「Jot Series」触控笔,其中「Jot Touch」蓝牙触控笔更可结合各种APP软件
,在平板计算机上做高精准度的书写,且能兼容所有电容式触控屏幕,像是iPad、iPhone、Mac BookTrackpad、Magic Trackpad、HTC、Samsung、Nokia等。
图八、Adonit 推出的iPad专用压力感应触控笔「Jot Touch」,是全球第一款与Adobe Creative Cloud搭配的触控笔。

图片来源:艾品科技官网
图九、Adonit「Jot Touch」具有防掌触及压力侦测等智能功能。

图片来源:艾品科技官网
移动设备大屏幕趋势今年将继续发酵,继苹果iPhone大改版热销后,市场期待下一波将会轮到iPad,加上各家厂商纷纷推出大屏幕的触控笔电,若触控笔能抓紧这波热潮,将是东山再起最好的机会。
| 作者: |
吴碧娥 |
| 现任: |
北美智权报资深编辑 |
| 学历: |
政治大学新闻研究所 |
| 经历: |
骅讯电子总经理室特助
经济日报财经组记者
东森购物总经理室经营企划 |
|
|
|