作者簡介:
葉雪美(Sherry H.M. Yeh)
現職:
經濟部智慧財產局專利一組
專利高級審查官 台灣科技大學 專利所 兼任助理教授
學歷:
世新大學法律研究所法學碩士
國立成功大學工業設計系學士
經歷:
中央標準局新式樣專利主任審查員(75-76)
中央標準局專利審查委員(80-89)
著作:
《美國設計專利侵害認定相關問題研究-兼論我國新式樣專利侵害認定問題》,2004。
《設計專利申請實務-台灣及美國專利申請策略》,元照出版公司,2008。 |
延續上一篇(解析設計專利侵害之整體視覺印象與新穎特徵之間的迷思3/4)美國與歐盟的法院在設計侵害檢測中,評估兩個設計所產生的整體印象是否不同,都會考量到設計領域中先前技藝或其他家族產品共通的設計特徵,如果兩個設計之間的近似部分是家族產品的共通特徵,那麼被告產品與設計專利(或註冊設計)之間任何細微的差異都會被考量或重視。因此,無論是美國或歐盟的法院,都不是只依一份賴詳盡的侵害分析報告就決定被告產品是否構成設計專利侵害,在比對系爭設計與被告產品之前,都會分析該設計領域之先前技藝,瞭解設計專利與先前技藝之間的差異,因為,系爭設計與先前技藝之間的差異能否產生不同的視覺印象是決定其可專利性的實質條件,同時,系爭設計與先前技藝之間的差異也是該設計可獲得保護的範圍,這種檢測方式與思考邏輯才能回歸於專利制度的本質與重心。我們試著將美國、歐盟的設計專利侵害認定檢測與流程,適用在智慧財產法院101民專上52號民事案件之中,看看是否能解決設計專利中新穎特徵檢測之問題,另一方面,看看能否合理的發現設計專利侵害或不構成侵害之事實。 |
|
電連接器設計領域分析與整體視覺印象之近似判斷
一、新穎特徵檢測之迷思
在Lawman Armor 案件(註1)及Egyptain Goddness案件(註2)中,CAFC曾討論在多數先前技藝與多項新穎特徵情況下,設計專利新穎特徵究竟是所有特徵中每一個設計特徵、還是所有設計特徵的組合、或是整體外觀設計。同樣地,對於第一精工公司與慶良公司的設計專利侵權訴訟,我國智慧財產法院第一審判決與第二審判決在新穎特徵之認定與整體視覺印象之比對也遇到相同問題。
(一)100年度民專訴字第47號民事第一審判決
新穎特徵就是設計專利與先前技藝之間的差異,也是設計專利異於先前技藝之創新之處,新穎特徵越少就表示設計專利與先前技藝之間差異越小。在Whitman Saddle案例(註3)中,美國最高法院說明:不能只依賴詳盡的侵害分析決定設計之間是否構成近似,如果在一個先前設計擁擠的技藝領域中,設計之間一些微小的差異就能讓一般觀察者產生不同視覺印象,那麼就不會有侵權事實被發現。最高法院先比對設計專利與先前技藝之間的差異,再說明因為「被告產品與設計專利之間的差異」並未小於「設計專利與先前技藝之間的差異」,被告產品與設計專利不會構成實質相同,所以,不會侵害設計專利。
第一審判決認為,兩造以合意認定「導電性殼體之上表面形成為覆蓋絕緣基體之橫向較長之立體ㄇ字狀」為系爭專利之新穎特徵,應無疑義。換言之,系爭專利與先前技藝之間的差異很細微,如此細微的差異就能產生不同視覺印象,也因此克服專利要件而取得設計專利,相對地,系爭專利的權利保護範圍極為狹小,其近似範圍應只及於幾乎相同。然而,第一審法院分析「111A」與系爭專利外觀上差異之處有(a)「111A」之金屬殼體頂面於兩側耳狀殼體向外延伸所形成之凸片有並無系爭專利之圓孔﹔(b)金屬殼體的頂面在後方僅形成有一凹槽,並無系爭專利之凹槽兩側之一齒狀槽;(c)絕緣本體底部未具有如系爭專利之向下突設、大小不一之兩圓柱。既然,兩個設計之間的差異有三項之多,在整體視覺印象是否近似之判斷時,為何那些專業採購的普通消費者還會將系爭產品「111A」混淆、誤認為系爭專利,這判斷結果讓人無法瞭解。
(二)101年度民專上字52號民事第二審判決
第二審判決說明系爭專利之新穎特徵有四項,(1)導電性殼體之上表面形成為覆蓋絕緣基體之橫向較長之立體ㄇ字狀;(2)在其上金屬平板頂面具有一條形槽,平板緣一邊具有一凹槽,另一邊具有微梯狀簷部;(3)下金屬平板略呈一長π字狀;(4)整體ㄇ字狀金屬殼上下兩金屬板體向左右兩側延伸出兩似耳狀之殼體。相對地,系爭專利與先前技藝之間的差異比較多,系爭專利的權利保護範圍是比較寬廣,其近似範圍相對放大。在整體視覺印象是否近似之判斷時,第二審法院說明:雖「111A」之上金屬平板有一邊平直,未具有系爭專利之微梯狀簷部特徵,存有外觀上的差異,惟因兩者之整體外觀、元件位置或組成大致構成近似,普通消費者會認為「111A」與系爭專利所產生的視覺印象上構成近似。
在新穎特徵檢測時,第二審法院說明:雖然「111A」之電連接器具有系爭專利之第(1)、(3)、(4)項以及第(2)項中「在其上金屬平板頂面具有一條形槽,平板緣一邊具有一凹槽」之新穎特徵。不過,「111A」之電連接器上金屬平板頂面前緣呈一直線邊緣設計,且使該絕緣基體之部分裸露於該直線邊緣之外,「111A」缺乏系爭專利第(2)項新穎特徵中之「微梯狀簷部」特徵,而就所屬技藝領域中具有通常知識者而言,對於系爭產品「111A」與系爭專利,將因有無「微梯狀簷部」之新穎設計特徵而產生不同的整體視覺效果。因為「111A」未包含系爭專利第(2)項之「微梯狀簷部」新穎特徵,未落入系爭專利之設計範圍。然而,第二審法院定位在判決中說明系爭專利第(2)項之「微梯狀簷部」新穎特徵之權重高於(1)、(3)、(4)項以及第(2)項一半之新穎特徵之理由,為何獨厚這1/2項新穎特徵,讓人無法明白這種權重比例關係。
(三)整體視覺印象近似判斷與新穎特徵檢測之迷思
由前面的分析可得知,智慧財產法院第一審法院與第二審法院在設計專利之新穎特徵認定與新穎特徵之檢測的法律見解大不相同,最終,影響整體視覺印象之近似判斷及系爭產品「111A」是否落入系爭專利之設計範圍之認定。
在In re Rosen案例(註4)中,CCPA說明:決定設計的可專利性,應考量整體設計的外觀設計及視覺效果,Rosen設計的整體外觀及美學訴求與主要的引證案不同,且予人之視覺印象亦不同於引證案。CCPA清楚地指明:設計特徵是指整體的視覺外觀設計(overall visual appearance),而不是個別的設計特徵。很顯然,第二審法院在新穎特徵檢測中過度注重設計專利局部、或部分的新穎特徵,而忽略了設計專利侵害認定應以「整體觀察」作為判斷原則,似乎扭曲了當初要區分新穎特徵以及新穎特徵檢測的主要意義。
(四)小結
從美國設計專利侵害認定檢測的發展與應用,以及歐盟設計的侵權訴訟判決之分析可得知,在設計專利侵權訴訟中,先前技藝與相關的申請案之分析不只是會影響到(1)設計專利權之有效性之判斷,(2)新穎特徵之確認,更進一步者會影響到(3)設計領域與設計自由度之認定,(4)整體視覺印象之近似判斷。因此,我們試著分析D128957「電連接器」設計專利之先前技藝與設計領域,進一步再比對系爭專利與被告之電連接器產品所產生之整體視覺印象,最後再判斷系爭產品「111A」是否落入系爭專利之設計範圍。
二、電連接器的先前技藝與相關設計專利
系爭專利D128957設計專利在日本的相對應申請案為2008-10379,申請日是2008年4月23日,2008年11月4日公告,公告號D1343284(如圖1左側所示)。還有一關連設計申請案2008-23174,2009年4月6日公告,公告號D1355631(如圖1右側所示)。
日本D1343284設計
申請日:2008/04/23 |
日本D1355631 關連設計
申請日:2008/09/09 |
 |
 |
| 圖1 我國D128957設計專利在日本的相關設計專利 |
(一)優先權日之前日本相關電連接器設計申請案
2005年3月28日公告日本自動機械有限公司之D1234526「電連接器」(如圖2左側所示),2007年10月18日,第一精工公司在日本曾提出另一獨立之「電連接器」的設計申請案2007-28543,2008年11月17日公告,公告號D1344452(如圖2右側所示)。
日本D1234526 設計專利
申請日:2004/06/24 |
日本D1344452 設計專利
申請日:2007/10/18 |
 |
 |
| 圖2 電連接器設計在日本的相關設計專利 |
2008年2月25日,第一精工公司提出另一系列之「電連接器」設計申請案,公告號D1392820(如圖3左側所示),2008年4月4日,提出該案之關連設計申請案,2010年7月20日公告,公告號D1392960(如圖3右側所示)。
日本D1392820設計專利
申請日:2008/02/25 |
日本D1392960關連設計
申請日:2008/04/04 |
 |
 |
| 圖3 第一精工公司的D1392820與D1392960設計專利 |
(二)優先權日之後第一精工公司在日本的電連接器設計申請案
2009年12月8日,第一精工公司提出另一系列之「電連接器」設計申請案與關連設計申請案,2010年8月30日公告,公告號D1395773(如圖4左側所示)及D1396094(如圖4中央所示)。2010年5月13日,提出另一關連設計申請案,2011年1月17日公告,公告號D1405450(如圖4右側所示)。
日本D1395773設計專利
申請日:2009/12/08 |
日本D1396094關連設計
申請日:2009/12/08 |
日本D1405450關連設計
申請日:2010/05/13 |
 |
 |
 |
| 圖4 第一精工公司另一系列電連接器之設計專利 |
(三)優先權日之後其他公司在日本的電連接器設計申請案
日本航空電子工業股份有限公司,2009年11月2日,提出「電連接器」的設計申請案2009-25646,2011年6月13日公告,公告號D1415835(如圖5左上所示)。2010年2月3日,提出另一設計申請案2010-2465,2011年2月21日公告,公告號D1407998(如圖5右上所示)(註5)。2010年5月20日,提出設計申請案2010-12471及2010-12472,2011年12月27日公告,公告號D1404328(如圖5左下所示)及D1404329(如圖5右下所示)。
日本D1415835設計專利
申請日:2009/11/02 |
日本D1407998設計專利
申請日:2010/02/03 |
 |
 |
D1404328設計專利
申請日:2010/05/20 |
D1404329設計專利
申請日:2010/05/20 |
 |
 |
| 圖5 日本航空電子工業公司的電連接器設計專利 |
2010年3月3日,提出設計申請案2010-5056,2012年1月10日公告,公告號D1431288(如圖6左側所示)(註6)。2010年10月26日,提出另一設計申請案2010-25714,2012年1月10日公告,公告號D1431290(如圖6右側所示)。
日本D1431288設計專利
申請日:2010/03/03 |
日本D1431290設計專利
申請日:2010/10/26 |
 |
 |
| 圖6 日本航空電子工業公司的電連接器設計專利 |
三、系爭專利之新穎特徵分析
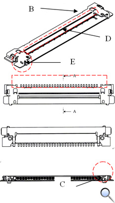
所謂新穎特徵,係指申請專利之設計與先前技藝比對,未見於先前技藝且能使其產生新穎且特異的視覺印象之設計特徵。第一審法院所認定之系爭專利之新穎特徵為「導電性殼體之上表面形成為覆蓋絕緣基體之橫向較長之立體ㄇ字狀」。可是,第二審法院所認定之新穎特徵與第一審法院不同,有四項新穎特徵:(1)導電性殼體之上表面形成為覆蓋絕緣基體之橫向較長之立體ㄇ字狀,(2)在其上金屬平板頂面具有一條形槽,平板緣一邊具有一凹槽,另一邊具有微梯狀簷部,(3)下金屬平板略呈一長π字狀,(4)整體ㄇ字狀金屬殼上下兩金屬板體向左右兩側延伸出兩似耳狀之殼體。
從圖1-圖2申請在先之電連接器先前設計可得知,(1)導電性殼體之上表面形成為覆蓋絕緣基體之橫向較長之立體ㄇ字狀,(2)在其上金屬平板頂面具有一條形槽,另一側緣邊具有微梯狀簷部(如圖9紅色斷線所圈選之D處),(3)下金屬平板略呈一長π字狀,(4)整體ㄇ字狀金屬殼上下兩金屬板體向左右兩側延伸出兩似耳狀之殼體(如圖9紅色斷線所圈選之E處)等四項設計特徵應該是該類電連接器產品共通之設計特徵,系爭專利與先前設計差異之處僅有兩項(1)上金屬平板平板緣一邊具有一凹槽(如圖9紅色斷線所圈選之A處),(2)兩側耳狀凸片上之圓形小孔(如圖9紅色斷線所圈選之E處),該兩項差異才是系爭專利之新穎特徵。然而,從圖5-圖6其他同業的電連接器設計專利亦可看到前述之兩項新穎特徵,看起來,這兩項新穎特徵似乎是該類電連接器共通之設計特徵。
四、電連接器設計領域與設計自由度
(一)電連接器設計之限制條件
電連接器係安裝於印刷佈線基板上,複數個並列設置於本體殼體內部之觸件腳部以錫焊接於印刷佈線基板,本體殼體正面凹入部分概呈橫向細長狀之連接器嵌合口,可插入並嵌合與其搭配之另一電連接器,經由導電性殼體底面之接地彈簧片與另一電連接器的接地連接構件相連接(如圖7所示),藉以形成電氣連接。
日本D1395773設計專利
之使用狀態圖 |
日本D1343284設計專利(系爭專利)
之使用狀態圖 |
|
|
| 圖7 電連接器與另一連接器嵌合以形成電氣連接 |
為了執行電連接器之基本功能,這系列電連接器的設計限制是:產品整體須是一扁平長方形體,外殼體是由長條形金屬底板及上方長條狀ㄇ字狀之導電性金屬殼體所構成,金屬底板上方配置長條形絕緣基體,基體一側設有外凸端子,基體另一側配合金屬殼體形成一可嵌合之內凹嵌合部。
(二)電連接器之設計領域與設計自由度
從日本不同廠商所申請之電連接器設計專利(如圖1-圖6所示)可得知,這些電連接器設計之間有明確的相似之處,這些產品都具有一長條形金屬底板、長條形之絕緣基體及一側橫向排列之接觸端子、基體外側之長條形ㄇ字狀金屬外殼及其兩側延伸之凸耳狀殼體,由於這些相似之處而形成一個電連接器的家族系列,而這些相似的部分就是這一產品家族所共有的共通設計特徵。不過,這些電連接器設計彼此之間並不相同,這些家族產品之間的明顯差異,就是金屬底板一側凹凸起伏鋸齒狀之邊緣變化、上殼體外側邊緣之凹凸起伏變化以及上殼體表面之凹槽修飾變化等。由於電連接器之普通消費者並非一般的社會大眾,而是電腦製造、組裝廠商的專業採購人員,這些採購人員對於電連接器有適度的熟悉程度,且有仔細的觀察力與較強的辨識能力,他們很容易察覺這些設計之間的差異,這些差異明顯而不會造成誤認或混淆。
又從圖1-圖6中所揭示之電連接器設計專利可得知,日本的電連接器之製造廠商及產業界認為,他們的電連接器外觀設計與其他廠商的電連接器外觀設計是不相同也不近似,因此,每家廠商各自提出設計專利之申請。各家廠商將近似之電連接器外觀設計,以原設計與關連設計之形式提出申請,例如:第一精工公司在日本的D1395773的原設計與D1396094、D1405450的關連設計(如圖4所示,權利範圍如圖8左側所示)。另外,每家廠商會將自家前後期或不同系列且不近似之電連接器外觀設計,分別提出原設計之申請,例如:第一精工公司在日本的D1343284與D1344452的電連接器設計專利,日本特許廳的審查人員在實體審查時,也認為這些電連接器的外觀設計不相同、不近似,而分別准予設計專利。由此可得知,這些電連接器設計專利的近似(實質相同)範圍非常狹窄(如圖8中右側所示之藍色的原設計與關連設計、橘色的原設計)。
| 日本關連設計之權利範圍 |
近似設計分別獨立申請之權利範圍 |
|
 |
| 圖8 關連(衍生)設計與近似設計獨立申請設計專利之權利範圍之比對 |
五、電連接器設計之整體視覺印象的近似判斷
(一)電連接器之普通消費者
第一審及第二審法院都確認,電連接器之「普通消費者」應指一般從事電腦製造、組裝廠商的採購人員,並非電連接器設計技藝領域中具有通常知識者。通常,電連接器這一類電子零組件及配件的直接銷售對象,大都不是末端使用者或消費者,而是合約購買或大量購買的商業購買者、或中間製造商,這些廠商的採購人員都是專業的採購人員,而這些專業採購人員通常具有(1)訓練有素的專業(2)相對高的注意程度與(3)較強的辨識能力,以他們的觀點來比對被告設計與設計專利,對於兩個設計是否會構成實質相同的認定標準,會比一般購買者的觀點來得更嚴謹,他們對於兩個設計之間微小的差異都能分辨出來,因此,混淆、誤認的範圍更狹小。
(二)第二審法院的電連接器設計之異同分析
第二審法院比對系爭產品「111A」與系爭專利之設計的視覺性設計時,說明「111A」與系爭專利之間的近似之處:兩者之整體大致皆呈一扁平長方體狀;兩者於該絕緣基體一側形成有複數個橫向排列之接觸端子,於該絕緣基體外側形成有覆蓋之金屬殼體,該金屬殼大致分為上下兩平板並包覆該絕緣基體;上金屬殼體覆蓋絕緣基體部橫向形成一長ㄇ字狀,上金屬平板頂面具有一條形槽,平板緣一邊具有凹槽,另一邊具平直;而下金屬平板則呈一長π字狀,且平板緣一邊平整;整體ㄇ字狀金屬殼上下兩金屬板體向左右兩側延伸出兩似耳狀之殼體,金屬殼體之平板部前端形成有一嵌合部,於該嵌合部後部之端部側形成有橫向延伸之開口部,故系爭產品「111A」與系爭專利於整體形狀之輪廓線已構成近似。
第二審法院也說明系爭產品「111A」與系爭專利之間的差異︰「111A」之金屬殼體頂面於兩側耳狀殼體向外延伸所形成之凸片上並無圓孔(系爭專利之圓孔如圖9紅色斷線所圈選之E處),金屬殼體的頂面在後方僅有一中央凹槽,並無系爭專利中央凹槽兩側之小齒狀凹槽(如圖9紅色斷線所圈選之B處);絕緣本體底部未具有如系爭專利之向下突設、大小不一之兩圓柱(如圖9紅色斷線所圈選之C處)。「111A」之凸片與系爭專利之圓孔所在位置與造形有差別,「111A」之金屬殼體頂面後方之凹槽已揭示於系爭專利之同樣位置,僅長度不同;「111A」本體底部有兩圓孔定位不同於系爭專利以兩圓柱作定位;另系爭產品「111A」之上金屬平板有一邊平直,未具有系爭專利微梯狀簷部特徵(如圖9紅色斷線所所圈選之D處),兩者存有外觀上的差異。
(三)整體視覺印象之比對與判斷
從前面的設計領域分析可得知,電連接器設計間(如圖1-6所示)的造形構成與整體外形輪廓有明確的相似之處,不過這些設計在金屬底板及上金屬殼體側邊邊緣上金屬殼體側邊緣之凹凸起伏修飾、嵌合部上方之金屬平板外凸之簷部修飾以及上殼體兩側之孔洞形狀修飾等具有差異,這些差異使得這些家族產品之間是不相同的、可區別的,彼此之間也不會構成實質相同。
從第一精工公司在日本的電連接器設計專利(如圖9所示)可觀察到,日本D1343284設計專利與D1344452設計專利的整體造形構成、底板金屬形狀、上金屬殼體的ㄇ字形與金屬平板一側外凸之梯形簷部、底板兩側之小圓柱等設計特徵幾乎相同,兩者之間僅有的差異是日本D1344452設計專利的金屬殼體中央段平板另側邊緣並無中央處扁梯形凹部修飾(如圖9中紅色斷線所圈選之D處),兩個電連接器的外觀設計所產生之整體視覺印象極為近似。可是,第一精工公司卻認為這兩個電連接器設計並不近似,而分別申請為獨立之設計專利,日本特許廳也分別核准。這是件很重要的事,第一精工公司的不近似主張已經明顯的限縮日本D1343284設計專利與日本D1344452設計專利的實質相同範圍,這種實質相同的限縮條件亦可適用於申請人在其他國家相對應之申請案。
日本D1344452 設計專利
申請日:2007/10/18 |
系爭專利(日本D1343284設計專利)
優先權日:2008/04/23 |
 |
 |
| 被告的「111A」產品 |
 |
| 圖9 第一精工公司的電連接器設計專利與「111A」產品之比對 |
| |
A |
B |
C |
D |
E |
| 日本D1344452設計專利 |
無 |
有 |
有 |
有 |
無 |
| 系爭專利 |
有 |
有 |
有 |
有 |
圓孔 |
| 系爭產品「111A」 |
有 |
無 |
無 |
無 |
U形溝槽 |
A:平板一側中央扁梯形凹處 B:小齒狀凹槽
C:底板突出小圓柱 D:平板另一側之微梯狀簷部
E:兩側凸片之孔洞 |
| 表1 電連接器設計專利與「111A」產品之間的差異比對 |
當第一眼看到系爭產品「111A」與系爭專利時,因為它們具有相同的造形元件與造形構成、相近的外形輪廓,使得它們看起來近似。不過,對於電腦廠商的專業採購人員而言,造形構成與外形輪廓的近似程度並不是那麼重要,這些專業採購人員會反映出,兩者之間的近似之處只是該類產品的基本態樣與共通設計特徵,在評估設計的整體視覺印象是否近似時,產品的共通設計特徵的意義已大大降低,專業採購人員之注意力會轉移到產品其他部分造形修飾之差異,例如:金屬底板表面及邊緣、金屬殼體邊緣及頂面、耳狀凸片之孔洞及底部之凸柱等細部修飾,因此,「111A」與系爭專利在底部外凸定位圓柱、上金屬殼體中央平板邊緣之修飾、金屬平板一邊是否具有微梯狀簷部等差異都應被考量。再者,前面已分析過第一精工公司在日本的相關申請案已限縮系爭專利之實質相同範圍,因此,系爭產品「111A」與系爭專利之間的近似程度,只要不比日本D1344452設計專利與系爭專利之間更為近似,就不會與系爭專利構成實質相同。
(四)系爭產品「111A」未落入系爭專利之設計範圍
綜上分析,系爭產品「111A」與系爭專利之近似之處,大都是該類產品的共通設計特徵,縱然,系爭產品「111A」具有系爭專利之1項新穎特徵(上金屬平板一側中央凹處),不過,專業採購人員更會注意到兩個設計之間的差異(底部外凸小圓柱、金屬平板一邊梯形凹處兩側之齒狀凹槽、另一邊有微梯狀簷部等),這些明顯差異不會導致誤認或混淆,因此,系爭產品「111A」與系爭專利所產生之整體視覺印象不近似,不構成實質同,系爭產品「111A」不會落入系爭專利之設計範圍。
六、結論與建言
我國法院所參考的「專利侵害鑑定要點(草案)」是民國93(2004)年10月5日由經濟部智慧財產局函送司法機關,其中設計(原新式樣)專利侵害鑑定流程是參考日本與美國設計專利權訴訟案例及侵害認定流程所制定的。然而,2004年到2013年間在設計專利領域中有很多重要的事件發生,2004年,歐盟註冊設計制度剛開始運作,2007年,英國最高法院上訴法院訂定設計侵害認定的「整體視覺印象檢測」與「適度認知的使用者」。2008年,美國CAFC全院聯席合議廢止設計專利侵害認定中的新穎特徵檢測,確認一般觀察者檢測是設計專利侵害唯一的檢測,2011年4月,Apple與Samsung的智慧財產權戰爭開始,2012年美國聯邦法院裁定Samsung要負擔10.5億美元的損害賠償。2009年,中國大陸開放近似外觀設計的保護,允許同一產品兩項以上(不得超過10項)的相似外觀設計,以合案方式提出申請,還有,確定外觀設計專利權的保護範圍,提高外觀設計的授權標準,設立外觀設計專利權的評價報吿制度。2012年1月1日,我國開始施行新的設計專利制度,開放部分設計、電腦圖像設計的保護,廢止聯合新式樣制度,增加成組物品設計與衍生設計之申請制度。
綜觀前述之分析,我國現行的設計專利侵害鑑定要點與流程,一方面讓法院在實務運作上,經常會出現新穎特徵檢測與整體視覺印象判斷之間邏輯矛盾的問題,另一方面,也與國際間對於設計專利侵害認定的趨勢不一致,還有,新穎特徵之認定與部分設計制度也會產生矛盾與衝突。因此,希望司法院及相關單位能正視這些問題,他山之石可以攻錯,可參考美國與歐盟的設計專利侵權訴訟與侵害鑑定實務,重新制定新的設計專利侵害鑑定要點與流程。多年來,作者鑽研於美國、歐盟與中國的設計專利侵權訴訟與侵害鑑定實務,提出下列幾點建言:
一、廢棄新穎特徵檢測,回歸整體視覺印象之判斷原則
(一)新穎特徵之認定與部分設計制度衝突
在Zahn案例(註7)後,美國開放部分設計之專利保護,USPTO在MPEP第十五章設計專利(註8),明白規定在設計專利的申請案中,申請人可將想要主張設計之部分以實線(solid lines)繪製在圖式中,將不想主張設計之部分以虛線(dotted or broken lines)繪製,並在圖式說明中載明圖式中虛線的部分不構成設計專利標的之一部分,虛線部份僅表現該設計所實施或所應用之工業產品或環境。之後,日本、歐盟、韓國也相繼開放部分設計專利制度,102年1月1日,我國也開放部分設計的保護,強化設計專利權,周延設計保護。
在專利侵權訴訟中專利侵害認定的流程,須由專利權範圍的解讀開始作業。在法律概念中,所有的權利都是有範圍限制的(metes and bounds),專利權也不例外,因此,發明專利及設計專利的權利也有範圍的限制。設計專利權範圍是「如圖所示的設計」,在法律上,設計的專利權被其所揭示之圖式所限制,請求設計的權利範圍是以圖式所揭示的整體設計來界定(註9),任何揭示於圖式中的實線部分都是請求設計的重要元素(essential element)。換言之,對於設計專利而言,圖式中所揭示的每一個設計部位(design aspect)都是重要的,如果有任何部位不屬於請求設計之標的內容,在申請時,應予以刪除或以虛線(斷線)來表現該部位,如有重要的新穎特徵則可用部分設計的形式單獨提出申請,因此,在新的設計專利制度中,新穎特徵認定與新穎特徵檢測確實沒有繼續存在之必要。
(二)新穎特徵檢測違背整體觀察之原則
美國法院認為:設計專利的權利範圍係指表現在圖式上整體設計,是圖式上所揭示的可區別或獨特的(peculiar)整體外觀設計(overall appearance),而新穎特徵則是設計專利與相關先前技藝間不同之處,兩者的性質相差甚遠。多年來,在設計專利實務上,掌握設計的可專利性(專利有效性)及專利侵害認定問題的關鍵,不是產品中各個獨特元件的新穎設計,而是整體外觀設計,法院在設計專利訴訟實務上,堅守這種認定原則,長久以來也不曾改變 。
新穎特徵檢測之目的是著重在設計專利與先前技藝有所區別的創新之處。在Egyptian Goddess案件中,CAFC說明,設計專利侵害認定所用的新穎特徵檢測是在近二、三十年發展出來的,這種檢測與Gorham案例的ㄧ般觀察者的整體觀察原則相違背,不為Whitman Saddle案例或其他前導判例所支持。另一方面,沒有新穎特徵檢測,也可藉由其他的方式達成同樣的目的,例如:以熟悉先前技藝觀察者的觀點,根據先前技藝進行的一般觀察者檢測也可達成檢視新穎特徵之目的。亦即,一般觀察者依據先前技藝去比對設計專利與被告設計之間的差異,檢視這些差異對整體設計視覺效果的影響,再決定這些差異是否會影響整體設計的實質相同。如果設計專利是由舊有設計特徵重新組合的外觀設計,對於熟悉先前技藝的一般觀察者而言,被告設計與設計專利近似的程度會導致一般觀察者被欺騙,就會被認定為侵權,否則,會被認定為不構成侵權。
二、普通消費者之確認
(一)美國設計專利侵害認定的一般觀察者
在Gorham案例(註10)中,美國最高法院說明:專家不是一般會被欺騙的人們(the persons to be deceived),國會所稱的「一般人」是指一般具有通常聰明智慧的人士(which men of ordinary intelligence),當他們施以通常的注意、或是以普通觀察的程度來看這些設計時,如果所感受到的視覺效果(the effect on the eye of the ordinary observer)是相同的,無法分辨出這些設計,以致於他們會認為這些設計是「實質相同」。而且,專家並不是產品的購買者,「一般人」才是產品主要的購買者(principal purchasers),被告有侵權嫌疑產品的外觀設計誤導、引誘他們,使他們誤認為所購買的是有設計專利的產品,因此,專利權人的權益被侵害,受專利保護之設計的市場利益也遭受損害。
在Arminak 案例(註11)中,地方法院認為:零售消費者購買的是清潔劑產品,而不是噴頭罩蓋,工業上購買者與合約購買者才是噴頭裝置(如圖10所示)的真正購買者。CAFC說明:在Gorham案例,最高法院是以「市場上的購買者」(a purchaser in the market)的術語來定義「一般觀察者」。在Goodyear v. Hercules的案例,上訴法院以卡車輪胎的真正購買者作為「實質相同檢測」的一般觀察者;2003年,在Spotless Enters., Inc. v. A & E Prods. Group, L.P.案例(註12)中,涉訟設計是女用內衣掛架的設計,該案的一般觀察者也不是一般的社會大眾,而是女用內衣製造廠商的商業採購員;另外在2004年Puritan-Bennett Corp. v. Penox Techs., Inc.的案例(註13)中,涉訟設計是可攜式氧氣筒體,該案所採用的一般觀察者包含:醫療設備的批發商、醫護人員、或是可對病人提供氧氣筒處方的醫師。所以,Gorham檢測中的一般觀察者,只要是該設計所實施或應用產品的真正購買者即可。因為專業的採購人員或具有專業知識的購買者對於產品與設計領域的認知、觀察與注意程度、辨識能力等資格條件高於一般的普通消費者,因此對於設計專利可能會被誤認、混淆的範圍也相對縮小。
 |
 |
| 圖10 原告Calmar的D381,581設計專利與被告Arminak的噴頭罩蓋 |
(二)歐盟設計侵害認定的適度認知的使用者
英國最高法院上訴法院認為:「適度認知的使用者」不是產品的製造者,不是街上的路人甲,而是一般的使用者;他可能是個消費者或購買者、或是因工作上的需要而使用或熟悉前述物品的人士,不過,他在實務上有適度的認知,「適度認知」是指,對於註冊設計所實施或應用的產品的熟悉程度高於商標法中的一般消費者,對於「產品的市場」與「產品近年的設計趨勢」要有概念(註14)。
在PepsiCo v Grupo Promer案件(註15)中,英國上訴法院說明:系爭設計是一種翁仔標(pogs, rappers or tazos),這產品的適度認知的使用者是5-10歲的兒童,或是市場銷售部門推廣業務的經理, 5-10歲的兒童觀察比對兩個翁仔標設計(圖11所示),兩者之間細微的差異無法使他們產生不同的視覺印象。不過,在Baena Grupo的案件(註16)中,Baena Grupo的註冊設計是應用在T恤衫、便帽(Caps)、貼紙、印刷品包含廣告物件的圖案設計(圖12所示),歐盟普通法院(General Court)說明:雖然兩個設計都是採用以黑色線條勾勒的人偶圖案,可是購買T恤衫、便帽的年輕人(young people)會注意到兩個設計臉部的表情是不同的,先前註冊商標人偶的臉部表情是生氣的,而註冊設計人偶臉部則沒有特別的表情,還有註冊設計人偶的坐姿是左手靠在彎曲的左膝蓋上,兩個設計之間的差異足以產生不同的整體印象。
| PepsiCo的74463-0001之註冊設計 |
引證前案553186-0001的先前設計 |
 |
 |
| 圖11 PepsiCo的翁仔標註冊設計與先前設計之比對 |
| Baena Grupo的426895-0002註冊設計 |
引證前案1312651的先前註冊商標 |
 |
 |
| 圖12 Baena Grupo的註冊設計與註冊在先之商標比對 |
(三)我國設計專利侵害認定之普通消費者
我國法院在設計專利的侵權訴訟中,如果雙方當事人對於系爭產品的普通消費者有爭議時,也會確認系爭產品的普通消費者,不過在確認之後,並未說明該類產品的普通消費者的資格條件是否不同於一般產品的消費者,例如:對於該類產品的設計領域的認知、觀察及注意程度的高低、辨識與判斷能力的強弱等。通常,專業的採購人員對於採購產品的基本認知、觀察及注意程度都高於一般的社會大眾,辨識能力強過一般的社會大眾,他們會混淆、誤認的範圍就會縮小。
三、設計專利之設計領域與設計自由度之分析
美國最高法院在Whitman Saddle案例(註17)中說明:在一個先前設計擁擠的技藝領域中,如果設計之間些微的差異就能讓一般觀察者產生不同的視覺印象,如此,不會有侵權的事實被發現。換句話說,在先前設計擁擠的技藝領域中,由於設計專利與先前技藝的細微差異受到重視而獲准專利,同樣的道理,被告產品與設計專利之間任何細微差異也應被重視。
歐盟設計在評估註冊設計的保護範圍時,以一個適度認知的使用者觀察該註冊設計與被告產品所產生的整體印象為依據,判斷兩者的整體印象是否不同,還要考量註冊設計所應用或實施之產品的性質,尤其是該類產品所屬的產業能讓設計師有某種程度的創作自由度。適度認知的使用者必須對該類產品的趨勢與功能、一些基本的技術因素有「相當的認知」,對於註冊設計所實施或應用的產品有一定的熟悉度,也要有「產品的市場」與「產品近年的設計趨勢」的概念。
四、設計專利與被告產品及先前技藝之整體視覺印象比對
(一)異時異地之比對不適用於設計專利之侵害判斷
最高法院90年度台非字第15 號刑事判決意旨:商標近似,則指異時異地隔離及通體觀察,兩商標在文字、圖形、記號、顏色組合或其他聯合式,有一相仿,具備普通知識經驗之商品購買者,施以通常之辨別及注意,有引起混同誤認之虞者而言。另有臺北高等行政法院於97年度訴字第946號判決說明:判斷兩商標是否近似,應就各商標在「外觀」、「觀念」、「讀音」上特別突出顯著,足以讓消費者對標誌整體形成核心印象之主要部分異時異地隔離各別觀察,以辨其是否足以引起混淆誤認之虞。由此可得知,異時異地隔離及通體觀察是審查商標是否近似所採用的比對方式(或原則)。
美國聯邦地方法院法官Lucy Koh在Apple控告Samsung的(CV-01846-LHK)的最終陪審團指南第47條說明設計專利的直接侵害的比對(Comparisons),在決定是否侵權的議題時,陪審團必須直接比較Samsung被告產品外觀與Apple的設計專利。如果確定Apple的任何產品或模型與其所主張的設計專利實質相同,且與該設計專利間之間沒有顯著的區別,陪審團可直接比較Samsung被告的產品與Apple的產品或模型。如果確定Apple的產品或模型並非所主張設計專利的商業實施例,陪審團就不能將該產品或模型與被告的產品一起比對。
歐洲審判法院(European Court of Justice , ECJ)認為(註18):商標法保護主要是阻止消費者混淆或被欺騙,通常,一般消費者是將商標視為一個整體予以觀察,而不是就其中各個細部進行分析比對,事實上,一般消費者很少有機會能直接比對不同的商標,而是將他留存在腦海中的不完整圖像加以比對。因此,在商標之異時異地比對與判斷中,不完整的圖像記憶(imperfect recollection)可能扮演著關鍵性的角色。然而,設計法中的「整體視覺印象」則是指經過仔細的觀察後而留在腦海裡的印象,對設計而言,相當瞭解的使用者在細心觀察之後,留在腦海裡的印象才是重要的,在判斷設計的整體印象時,不完整圖像的記憶並不是個重要關鍵性的因素。設計保護的重點是將設計作為一個整體予以保護,重點是該設計所創造出來的整體印象,使用者在觀看產品時,幾乎要記住產品的整體印象,由於使用者喜歡或欣賞該設計的獨特性,而決定購買之;而不是相信一個商標,象徵商品來源,而決定購買之。
由前述分析可得知,商標法與設計法的立法目的與動機不同,觀察的重點也不同,判斷與檢測的基礎更是不同。事實上,一般消費者很少有機會能直接比對不同的商標,只是將留存在腦海中的不完整圖像加以比對。然而,設計專利的實質相同比對則不一樣,通常普通消費者是將設計專利與被告產品及先前技藝放在一起直接觀察比對,藉由仔細觀察後所產生的視覺印象加以判斷。因此,商標近似判斷所採用之異時異地之觀察方式並不適用於設計專利之侵害判斷。
(二)整體視覺印象近似之處與差異之處的權重比例分析
在Whitman Saddle案例中,美國最高法院是將設計專利與先前技藝的比對包含於一般觀察者檢測之中,並未採用兩段式檢測,也沒有建立一個獨立的新穎特徵檢測。在後續的Bevin Brothers、Zidell、Applied Arts以及Sears, Roebuck案件中都是採用同樣的判斷原則,先比對設計專利與先前技藝之間的差異檢視新穎的設計特徵,再比對設計專利與被告設計,如果被告設計中有原告設計專利的新穎特徵,就會認定被告設計有侵害設計專利的事實。
在Proctor & Gamble 案例(註19)中,英國上訴法院說明:對於一個適度認知的使用者而言,兩個噴霧劑容器之間近似而產生相同整體印象的部分是屬於該類產品設計所具有的共通印象,反而是,兩個設計之間的差異部分會使得它們產生不同的整體印象。在Samsung Electronics v. Apple的案件(註20)中,英國高等法院說明:註冊設計與設計領域中的先前技藝或是其他相關或類似的先前設計之間有明確的相似之處,這相似之處會使得這些設計會形成一個設計家族系列。不過,這些家族產品彼此之間是有差異的,這些產品設計之間最大的區別是在產品背面和側面。熟悉該設計領域又能仔細觀察的使用者會認為,Apple的註冊設計只是該類產品的基本態樣。因為是共通的造形或特徵,使得Apple的註冊設計、Galaxy平板電腦與其他的家族產品看起來都很相像,評估設計的整體印象是否近似,產品正面近似的意義並不大,反而是產品的背面和側面的差異的權重相對提高。
綜上分析,美國與歐盟的設計侵害檢測在評估兩個設計的整體印象是否不同,都會考量到設計領域中先前技藝或其他家族產品共通的設計特徵,如果兩個設計之間的近似部分是共通特徵,那麼被告產品與設計專利(或註冊設計)之間任何細微的差異都會被重視。因此,這兩種設計侵害認定的檢測,都不是只依賴詳盡的侵害分析就決定設計之間是否構成侵害,都會考量該設計所屬設計領域的先前設計或先前技藝,決定兩個設計之間的「近似」與「不同」部分所占的比例與權重,再判斷兩個設計所產生的整體印象是否相同。(全文完)
備註:
- 參照Lawman Armor Co. v. Winner Inte‟l LLC, 437 F.3d 1383, 77 USPQ2d 2017 ( Fed. Cir. 2006 )。
- 參照Egyptian Goddess, Inc. v. Swisa, Inc. & Dora Swisa 543 F3d. 665, 88USPQ2d 1658 (Fed. Cir. 2008)(en banc)。
- 參照Whitman Saddle Co. v. Smith, 38 F. at 414- 415(C.C.D. Conn.1889)。
- 參照In re Rosen, 673 F.2d 388, 391, 213 USPQ 347, 350(CCPA1982)。
- 我國相對應設計專利申請案為D138468「電性連接器」。
- 我國相對應設計專利申請案為D137592「電性連接器」。
- 參照In re Zahn, 617.F.2d. 261. 204 USPQ 988, 995(CCPA 1980)。
- 參照美國專利審查程序手冊, MPEP§1503.02 Drawing Ⅲ Broken lines.(May 2004)。
- 參照In re Mann, 861 F.2d 1581, 8USPQ2d 2030(Fed. Cir. 1988)。
- 參照Gorham Mfg. Co. v. White, 81 U.S.(14 Wall.)511, at 526-7(1872)。
- 參照Arminak & Assocs., Inc. v. Saint-Gobain Calmar, Inc., No. 06-1561, Slip Op. (Fed. Cir. Sept. 12, 2007)。
- 參照Spotless Enters., Inc. v. A & E Prods. Group, L.P., 294 F.Supp.2d 322, 347 (E.D.N.Y.2003)。
- 參照Puritan-Bennett Corp. v. Penox Techs., Inc., No. IP02-0762-C-M/S, 2004 WL 866618, at *26 (S.D.Ind. Mar.2, 2004)。
- 參照Procter & Gamble Company v Reckitt Benckiser (UK) Ltd [2007] EWCA Civ 936 (Royal Courts of Justice, Strand, London, WC2A 2LL, 10/10/2007。
- 參照Case C-281/10P, PepsiCo, Inc., V Grupo Promer Mon Graphic S A(Court of Justice EU, 20/10/2011)。
- 參照C-101/11P and C-102/11P of 18 October 2012, Herbert Neuman and Andoni Galdeano del Sel vs. OHIM - José Manuel Baena Grupo SA。
- 參照Whitman Saddle Co. v. Smith, 38 F. at 414- 415(C.C.D. Conn.1889)。
- 參照Lloyd Schuhfabrik Meyer v Klijsen Handel, Case C-342/97 [1999] ECR I-3819:﹝25﹞,﹝6﹞。
- 參照Procter & Gamble Company v Reckitt Benckiser (UK) Ltd [2007] EWCA Civ 936 (Royal Courts of Justice, Strand, London, WC2A 2LL, 10/10/2007。
- 參照Samsung Electronics (UK) Ltd v Apple Inc [2012] EWHC 1882 (Pat)(09 July 2012)。
更多歷期精采文章,請參閱智權報總覽 >>
|