183期
2017 年 4 月 19 日
  北美智權官網 歷期電子報 / 電子報訂閱管理  
 
沒聽過就落伍!社群媒體新寵兒—Snapchat
吳碧娥╱北美智權報 編輯部

在台灣,說到社交通訊軟體,你可能最先想到的是用戶廣大的Facebook或是曬滿美圖的Instagram,但在美國年輕人的世界中,Snapchat不但是社交新寵兒,更一舉刷新Facebook紀錄,成為公開發行最大規模的科技公司。年僅27歲的Snapchat創始人伊萬斯皮格(Evan Spiegel),也從全球最年輕的億萬富翁,躍升為全美最年輕的上市公司CEO。

台灣用戶對於Snapchat可能還有點陌生。Snapchat不像Facebook、Instagram、WhatsApp等社群媒體,分享的貼文或傳送訊息會永久保存,在Snapchat中發送的訊息稱為「Snap」,使用者可以在Snap上塗鴉、打字或是放上一些小圖示,收到後觀看秒數最長只有10秒,接著就會自動刪除,這種稱之為「閱後即焚」的功能,正是Snapchat最大的特點。如果嫌Snap時效太短,Snapchat還有故事(Story)功能,讓Story中的照片或影片內容,可在24小時內被重複播放。

圖一、Snapchat的故事功能,可將照片或影片創作成獨特的故事。

圖片來源:USTPO,Patent No. 9,396,354

Snapchat的秘密武器:閱後即焚

早在2013年,Facebook就企圖收購Snapchat,傳聞開出的價碼超過30億美元,但仍無法成功收服Snapchat。由Snapchat先帶起「閱後即焚」的這項熱潮,造成其他社群媒體跟風,WhatsApp在今年2月推出了WhatsApp Status,主打可對裝飾後的照片、影片、GIF動圖進行編輯分享,24小時後即消失。模仿Snapchat的對手不只WhatsApp,2016年8月,Facebook旗下的Instagram推出了「Stories」限時動態故事功能,可將過去24小時的照片與影片剪輯成一段可輕鬆瀏覽的10秒短片,並在發佈的24小時後自動消失。當時消息發佈後,也讓網友評論分不清Snapchat和Instagram;就連Facebook近日最新推出的「Messenger Day」,同樣也是「參考」Snapchat的故事功能。

Snapchat以創新功能引領風潮,來看看母公司Snap Inc.手上擁有多少專利。根據美國專利及商標局(USPTO)統計,目前Snap Inc.擁有共29項已公告的專利,2013年申請件數只有2件,但從2014年開始,連續兩年都遞出12件專利申請案,並在2016年獲得16項專利授權。

圖二、Snap Inc.專利申請年度統計

圖三、Snap Inc.專利公告年度與國際分類號分析

資料來源:Patentcloud 關鍵字:AN=SNAPCHAT INC
統計時間:2017/4/14

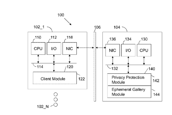
Snapchat在去年7月獲得了一項關於人臉識別技術的新專利,內容是關於「在發布圖片中自動保護隱私的方法」(Apparatus and method for automated privacy protection in distributed images)。在這項技術中,Snapchat會為用戶們建立一個面部識別的數據庫,用戶可以設定關於圖片的隱私偏好,這些設定將會應用到所有包括自己的圖片上。未來在一張圖片被發送之前,Snapchat將使用人臉識別技術探測圖片中有哪些用戶,再根據用戶的隱私設定來决定圖片可以被分享的對象;若是未經用戶允許而發送的圖片,會自動在臉部打上馬賽克或表情符號(emoji)。這項功能可以達到保護用戶隱私的目的,但同時也會讓1.58億用戶的面部數據進入Snapchat的資料庫中。

圖四、USPTO去年7月19日授權了Snapchat 一項關於人臉識別技術的新專利。

圖片來源:USTPO,Patent No. 9,396,354

身為美國最炙手可熱的社群通訊軟體,該項專利顯示Snapchat在人臉識別技術應用上的一大進步。此外,Snapchat也獲得了一項關於物體識別的新專利(Gallery of messages from individuals with a shared interest),藉由識別照片中的物體,來向用戶投放不同的廣告。所謂的物體識別系統,就是當手機鏡頭對準的物體是Snapchat廣告客戶的産品時,手機螢幕上將會自動出現相應品牌的濾鏡或貼紙,廣告效果將大大提升。

圖五、Snapchat關於物體識別的專利

圖片來源:USPTO,Patent No. 9,385,983

在Snap的共同創辦人兼CEO伊萬斯皮格(Evan Spiegel)看來,Snap是一家相機公司,同時也是一家娛樂公司。早期Snapchat以趣味的圖文通訊起家,如今Snapchat不僅是一個社交媒體,更是一個內容及媒體平台。

圖六、Snapchat CEO 伊萬斯皮格(Evan Spiegel)。

圖片來源:Forbes

刷新Facebook上市紀錄 締造340億美元市值

2017年2月,Snap公布了IPO上市計劃,當時市場對公司的估值約為200~250億美元。根據Snap的公開說明書,2016年公司營收爲4.04億美元,比2015年的5,800萬美元營收成長暴增六倍!雖然看似成長驚人,事實上Snap還不是家賺錢的公司,虧損額更從2015年的3.72億美元,擴大到2016年的5.15億美元。即便如此,仍有分析師看好Snap在2017年營收可望攀登10億美元;Facebook和Twitter的早期投資人甚至認爲,Snap十年後可能創下148億美元的年營收!

在市場樂觀預期下,Snap將公開上市的初始價格設定在每股17美元,目標市值為240億美元,今年3月2日正式在紐約股票交易所公開上市,當天結果揭曉:Snap股價飆漲44%,以每股24.48美元收盤,市值達到340億美元,成為2012年Facebook上市以來美國科技公司最大規模的IPO案!

打造影片生態圈 年輕群族力挺Snapchat

Snapchat最大的資產就是其年輕化的用戶,這也是當初Snapchat選擇對Facebook收購說不的原因。根據Snapchat申請IPO的資料,其用戶大多是年齡在18到34歲的年輕人,25歲以下的年輕人每天平均要打開Snapchat 20次,從「閱後即焚」到搞怪濾鏡,Snapchat的應用設計處處展現了青少年的特點。從2016年起,Snapchat開始主打短片功能,目前平均每天在Snapchat上的影片播放數量是100億次,在去年底的時候,Snapchat還加入了最新的群聊功能。 Snapchat為了强化影片的生態圈,在2011年以1,500萬美元收購了Vergence Labs,經過五年的研發推出了售價129.99美元的Spectacle。延續Snapchat閱後即焚的傳統,佩戴這款眼鏡可以拍攝10秒短片,並同步上傳至Snapchat和好友分享,過不久這些影片同樣會自動消失。這款平價的Spectacle眼鏡,降低了用戶生產內容的門檻,更緊密的串連起軟體和硬體,成功讓Snapchat為自己的品牌加分。

圖七、Snap打造的Spectacle眼鏡,可上傳10秒影片分享到Snapchat。

圖片來源:Snap

Snapchat的影片還有一項特點,就是只能停留在Snapchat上觀看,無法連接到其他網路上去。另一方面,Snapchat也推出給商家付費的廣告頻道,儘管價格比Facebook廣告還貴,但廣告頻道只限量20個,若是流量不好還上不了Snapchat。影片廣告也為Snapchat帶來可觀的進帳,約占Snap公司整體收入的71%。

據Goodwater Capital預測,Snap的營收將由2016年的4.04億美元躍升至2027年的148億美元,並將在2020年實現盈利。Goodwater Capital調查數據也發現,Snapchat在30歲以下用戶喜歡的社群APP中排第三,但在30歲以上的用戶中只排到第七名。而無論在哪個年齡層,Facebook目前仍然是最受歡迎的應用,但用戶人口趨向老齡化,確實成爲Facebook的隱憂。Snapchat的課題,則是怎樣獲得更多30歲以上用戶的青睞,以及如何成功打進亞洲市場。

圖八、美國社群APP使用者偏好調查

資料來源:Goodwater

Evan Spiegel認為,Snap未來會成為與Facebook和蘋果一樣的偉大公司;但別忘記,同樣是公開上市的社群軟體,Snapchat有可能加速茁壯,成為下一個Facebook,也可能江河日下,成為另一個身價急起暴跌的Twitter,最後結果可是大不同。

 

作者: 吳碧娥
現任: 北美智權報資深編輯
學歷: 政治大學新聞研究所
經歷: 驊訊電子總經理室特助
經濟日報財經組記者
東森購物總經理室經營企劃

 

Facebook 在北美智權報粉絲團上追踪我們       

 





感謝您閱讀「北美智權報」,歡迎分享智權報連結。如果您對北美智權電子報內容有任何建議或欲獲得授權,請洽:Editorial@naipo.com
本電子報所登載之文章皆受著作權保護,未經本公司授權, 請勿轉載!
© 北美智權股份有限公司 & 北美聯合專利商標事務所 版權所有     234新北市永和區福和路389號五樓 TEL:+886-2-8923-7350