中國大陸電子商務廠商阿里巴巴自2007年開始,海量向我國智慧財產局申請專利,根據專利申請流程,通常需要3-5年的時間,因此今(2014)年開始,其申請的專利將進入密集通過期,3月與4月就分別通過兩項專利,讓其能複製其在中國大陸行動電子商務的成功經驗!由於該項專利保護範圍太大,PChome跟Yahoo、以及各電商網站恐怕得更小心了!必須明確迴避阿里巴巴的專利,增加競爭的困難與成本。 |
阿里巴巴集團旗下的電子商務網站「淘寶網」,是國人最愛購物的海外網站,根據2013年中華民國電子商務年鑑資料顯示,4成網友上過該網站,2013年在台營業額超過500億新台幣。淘寶網對於台灣電子商務的佈局,不僅商品量大,連專利申請也大量來襲,嚴重威脅我國電子商務廠商未來的佈局。
阿里巴巴在台專利佈局申請,始於2007年成立阿里巴巴網路在香港掛牌,發現專利是電子商務相當重要的戰略佈局(其後,Facebook IPO前曾一度僅12項專利;Twitter也只有9項,導致他們面臨多項相關訴訟。)故阿里巴巴於2007年開始,就在中國大陸、台灣、美國等地大量申請電子商務相關專利,2009年後申請更進入高峰,至今在台灣就已經累積248項申請號。
依照中華民國專利申請流程,從申請、公開、答辯,到獲證,最快也需要2-3年,一般需要4-5年的時間,因此依照時間因素判斷,自2014年開始,將陸續有阿里巴巴申請的電子商務專利通過,對台灣電子商務廠商造成實質的影響,截至目前為止,在2014年3月21日與4月1日,分別通過了專利編號I431978的「獲取資源的方法、裝置及系統」案與I432970「發佈網站資訊的方法、裝置及系統」案。
| 阿里巴巴集團控股有限公司在台申請專利數 |
| 年度 |
專利申請號數 |
核准數 |
| 2007 |
5 |
0 |
| 2008 |
13 |
0 |
| 2009 |
54 |
0 |
| 2010 |
89 |
0 |
| 2011 |
62 |
0 |
| 2012 |
25 |
0 |
| 2013 |
0 |
0 |
| 2014 |
0 |
2 |
| 阿里巴巴在台專利,由申請量的高峰轉為實質通過程序取得專利階段 |
阿里巴巴兩項專利對台廠關鍵佈局影響1: 整合平台佈局與發佈速度
一般而言,專利申請的策略與目的不外乎下列六點:1.防止競爭者進入市場、2取得權利金、3.技術交易的載體、4.防禦性公開、5.商業廣告、6.管理指標等。由阿里巴巴通過的兩項專利,可以發現阿里巴巴對於現在正在進行的電子商務趨勢,過去就已經早有佈局。
I432970的內容,主要針對電子商務的賣家。目前企業在網路行銷過程中,必須要在各個電子商務網站發佈公司的相關資訊,這些資訊大多是相同的,但是目前的技術若要在多個電子商務網站發佈相同的公司資訊,則要執行重複性的操作,不但增加流程的繁瑣性,也降低工作效率。
這項專利能夠加速上架流程,電子商務要求貨物量要大,已2014年1為例,台灣前10大的電子商務網站,貨品數都超過10萬件,且都持續擴張中,所以讓新商品上架的速度就相當重要,而且目前的電子商務商,常常對不同客源貨供應商,區別的設立不同的電子商務平台,例如大型供應商的「商城」、小型供應商的「商店街」,個人供應者的「市集」,甚至二手品為主的「拍賣」等。
但想要上網販售的供應商,想要曝光的範圍必定是越廣越好,因此多半在同一電子商務商旗下的不同平台都會發佈…如果有500樣商品要上架,四個平台,發佈500次與發佈2000次,所花費的工時差異甚大。
| 2014年1月台灣前10大電子商務平台 |
| 名次 |
購物平台 |
2014年1月商品數 |
成長% |
| 1 |
PChome線上購物 |
795,673 |
0.02% |
| 2 |
momo購物網 |
476,849 |
2.67% |
| 3 |
Yahoo購物中心 |
447,030 |
-13.16% |
| 4 |
GO HAPPY快樂購物網 |
277,175 |
3.52% |
| 5 |
udn買東西 |
198,614 |
5.34% |
| 6 |
東森購物網 |
190,124 |
18.72% |
| 7 |
payeasy |
170,379 |
-2.93% |
| 8 |
森森購物網 |
161,064 |
1.89% |
| 9 |
7net雲端超商 |
154,453 |
14.00% |
| 10 |
大買家量販網路店 |
93,793 |
-46.71% |
| 資料來源:EZprice |
此外,阿里巴巴也許能以此專利,整合不同、規模較小的電子商務業者,宣稱在阿里巴巴旗下平台上架後,也會在其它業者的平台上架。這樣作對於吸引供應商有很大的優勢(曝光多),小型電子商務業者也樂於合作(增加上架貨源),但其他電子商務廠商就面臨更大的競爭難題。專利中更聲明,本領域的技術人員可以真對本發明中的實施例進行各種修改和變型,而不脫離本發明的精神和範圍,則本發明中的實施例也意圖包含這些修改和變型在內。



以上為專利證號I432970圖示,資料來源:TIPO
阿里巴巴兩項專利對台廠關鍵佈局影響2: 搶佔行動電子商務制高點
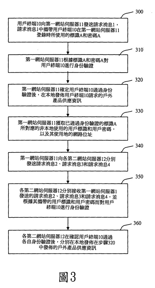
針對I431978專利的內容,用戶端裝置存取網路中,存取存在不同儲存裝置中的資訊,因為各種儲存裝置使用不同的資源協定,容易造成網路中的資源協定混亂,造成用戶端裝置存取資源的效率低落,甚至無法存取,而網路系統對於這種資訊版本也缺少必要的統一管理。
先前技術提出的解決方案,是將用戶端讀取過的資源就儲存在用戶端,這樣用戶端即可隨時或取所需資源,但是,阿里巴巴認為網路系統中多個用戶端都需要同一資源時,該多個用戶端都會在本地儲存所需資源,造成儲存空間的浪費,所以發明出更為有效的或取資源方法。
如果以PC技術為核心的電子商務角度觀察這個發明專利,可能會覺得威脅不大,但以行動電子商務(手機、平版為主力裝置)的觀點,就會發現此一發明確實有前瞻性,因為PC的儲存裝置,容量上較行動裝置大上許多(1TB以上容量硬碟相當普及、行動裝置的儲存媒體絕大多數則在64GB以下),如果採用舊的技術,對行動裝置流覽資料量大的電子商務網站內容,相當不利,新發明則針對改良的技術設下專利,讓競爭對手要改善此一技術更為困難。
行動電子商務是未來很重要的趨勢,阿里巴巴利用專利佈局占據先機。根據2013年中華民國電子商務年鑑,全美國2013年行動零售成長64%達到342億美元。2013年美國的358家行動零售業者的銷售額達到254億美元,較2012年的 152 億美元巨幅成長 67%。而電子商務巨頭 eBay 的行動商務業績更達到88億美元,帶動整體行動電商市場規模創下342億美元新高。
2012年中國大陸行動電子商務用戶也已達2.5億人,購物交易規模550.4億人民幣,年度成長率達到380%。另根據2013年淘寶網資型公佈的數據,僅11月11日光棍節一天的交易量就達到達 350.19 億人民幣(2012年191億人民幣),透過手機交易的成交額達53.5億人民幣,為2012年的5.6倍(9.6億人民幣),手機的單日成交筆數達3590萬筆,交易筆數佔比整體21%。(去年僅5%)!
| 單位(人民幣) |
阿里巴巴光棍節2013 |
阿里巴巴光棍節2012 |
| 總交易額 |
350.19 |
191 |
| 行動交易額 |
53.5 |
9.6 |
| 行動交易比例 |
21% |
5% |
台灣亦然,根據Yahoo!奇摩公佈的電子商務紫皮書表示,台灣已經有57.3%的使用者透過行動裝置與PC進行瀏覽與消費,該公司認為行動購物族有三高:黏著度高、下單頻率高、消費金額高。因此該公司行動商務(拍賣)網頁推出一年,(2012年12月-2013年11月),業績成長8倍,佔整體營收的6%。
對照淘寶網與Yahoo!奇摩行動網頁佔整體營收的數據,可觀察出阿里巴巴對於行動電子商務的技術佈局,確實已經有成效,行動交易的比率呈現超過4倍增長,如果相同的技術先行優勢,再以完整的專利佈局進入台灣市場,則競爭者要想齊頭努力的先機已失,未來追趕也更為困難。



根據德勤全球(Deloitte Global)發布的「2013年全球零售力量」(Global Powers of Retailing 2013)報告指出,2013年行動商務占全球零售業總營業額5.1%,預估到了2016年將成長達17至21%,相當於6,200億至7,500億美元。但很顯然,在阿里巴巴的技術佈局下,其相關的電子商務領域,這樣的比例應該會提早來到。
阿里巴巴專利申請進入大量通過期 台廠需避免踩紅線
阿里巴巴自2007年起,每年都申請大量的發明專利,曾有觀點認為阿里巴巴是虛晃一招,並不會將這些專利進入實質審查階段,但目前已經證明,阿里巴巴申請的電子商務專利是”來真的”,對於台灣電子商務廠商,也開始有了明確的影響,特別是在行動電子商務的佈局上,更有可能踩到專利紅線,台廠在佈局行動電子商務戰略時,專利因素已經必須列入明確的考量點。
北美智權教育訓練處處長陳宜誠律師評析:「例如以台灣獲證專利號I431978的母案(主張優先權)為例,是大陸獲證專利200710105896,揭露電腦系統用戶端通過本地統一資源描述文件定義的資源列表,獲得本用戶端可能使用的資源的資源標識和相應的路徑資訊,這樣,所述用戶端便可以在最短時間準確獲得所需資源,從而在很大程度上提高了用戶端獲取資源的成功率與工作效率。講穿了,就是描述Cookie的使用與功效。看起來這專利很恐怖,很基本,是關於Cookie或Cache的使用,所以大家都逃不掉!」下一期將分析如何迴避這類型的專利。

|