智權報總覽 > 產業與經濟           
 
行動裝置「筆」拼大螢幕 觸控筆隨iPad Pro捲土重來
吳碧娥╱北美智權報 編輯部
2015.03.11
蘋果創辦人Steve Jobs曾在第一代蘋果發佈會(Macworld 2007)上說了這句名言:「誰還需要觸控筆?」(Who wants a stylus?)接著iPhone手機風靡全球,伸出手指即可輕鬆操作電容式觸控螢幕,觸控筆似乎真的成了一項略顯「多餘」的配件。不過,2014年起行動裝置不斷朝大尺寸發展,就連蘋果也不得不拾回這隻「筆」,在觸控筆相關專利佈局上不遺餘力。2015年,觸控筆已經準備好重回市場主流,很有可能在蘋果下一波推出的「iPad Air Plus」或「iPad Pro」,就會看到觸控筆現身。

2014年5.5吋平板手機崛起

智慧型手機螢幕從2013年起持續往「大尺寸」方向發展,根據IDC(國際數據資訊­)統計, 5吋以上智慧型手機已成為2014年市場主流,占比高達六成七,其中5.5吋以上的平板手機(Phablet),在第三季數量佔比更達到32%(請見圖一)。值得注意的是,5.5吋以上大螢幕手機在2014年出貨量首度超越平板,甚至比NB和PC出貨表現更為優異。IDC預測,2015 年台灣行動裝置(智慧型手機、平板電腦、與筆記型電腦)總量將突破1,200萬台,不僅產品及應用型態更為多元,新一波行動裝置的平台與應用競爭也將更加白熱化。

圖一、台灣智慧型手機尺寸出貨佔比(2013年Q3~2014年Q3)
http://www.idc.com.tw/about/uploadpic/PR_141127_1.jpg
圖片來源:IDC

即便大螢幕智慧型手機當道,平板目前位居下風,但是今年新推出的平板同樣也打大尺寸戰。市場傳言蘋果今年可能推出12.2吋的新款「iPad Air Plus」,甚至是12.9吋的「iPad Pro」,目標鎖定企業用戶及學校、政府機構,凱基證券(KGI Securities)分析師Ming-Chi Kuo先前曾經預測,蘋果將會在今年下半年發表12.9吋的iPad Pro,並因應大型平板搭配蘋果自行研發的觸控筆。

其實Toshiba等大廠在2015年美國消費電子展(CES)都主打支援觸控筆的平板,但是若連蘋果都推出觸控筆產品,才是大大的話題。因為蘋果創辦人Steve Jobs生前曾公開表示觸控筆是個多餘的裝置,在電阻式觸控時代,手機和PDA是搭配觸控筆使用,直到蘋果推出電容式觸控,iPhone這個以手指操控行動裝置的劃時代產品,才將觸控筆打入冷宮。

圖二、Toshiba新推出的平價平板Encore 2 Write Windows 8.1,有8吋和10吋兩種款式,共同的賣點都是支援觸控筆。
http://cnet2.cbsistatic.com/hub/i/r/2015/01/05/d2cf7696-6c31-4254-8c4f-e35eaffc9715/resize/770x578/c57300b599558e347c401abdbd01482c/toshiba-encore-2-write-8-10.jpg
圖片來源:CNET

不過這幾年來行動裝置螢幕愈做愈大、蘋果早已棄守Jobs當初對於3.5吋iPhone的堅持,最新一代的iPhone6 Plus更是擁抱5.5吋螢幕成為大尺寸平板手機,對於這些大螢幕裝置來說,搭配觸控筆操作可能更有效率。因此觸控筆從2014年又捲土重來,觸控筆電與平板搭配觸控筆出現明顯成長,蘋果近年取得至少22項關於觸控筆的專利(註1),從已經獲證的專利觀察,iPen可應用在智慧型手機與平板的功能豐富,若蘋果真將觸控筆產品化加入市場戰局,有機會帶動觸控筆全新風潮。

蘋果觸控筆 專利揭露多元功能

美國專利商標局在2014年12月30日公布一項蘋果新獲得的專利,名為「通訊觸控筆」(Communicating stylus,USPTO專利編號:US 8,922,530)。蘋果發明的觸控筆,可透過內建陀螺儀與加速傳感器偵測手寫的動作,再將手寫內容傳輸到iPhone、iPad或其他電子設備的螢幕上。「凌空書寫」是蘋果觸控筆和一般觸控筆最大的差異,觸控筆不一定要與螢幕接觸,不管是水準、垂直或是「隔空」拿著,都可以手寫使用。專利內容也顯示,只要在一塊空白的電子模組上進行手寫,內容會傳輸到周圍的電子設備螢幕上,這項功能對於主打商業用途、企業客戶的「iPad Pro」來說十分實用。

圖三、蘋果觸控筆可以在一塊空白的電子模組上進行手寫,其內容會傳輸到周圍的電子設備螢幕上。

圖片來源:USPTO

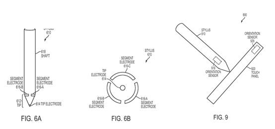
此外,蘋果也針對觸控筆定位檢測申請專利(專利名稱Stylus orientation detection,專利編號:US 8,638,320),可透過定位檢測來計算觸針與接觸面的方向。從該專利發現蘋果將觸控筆模組化,基本模組包括觸控筆筆尖,擴充模組衍生出來的功能十分多元,包括一個或多個電源、相機、音頻記錄器、通信電路、陀螺儀、加速計、投影儀等。

圖四、蘋果透過定位檢測計算觸控筆與接觸面的方向,有助改善觸控筆書寫的真實感。

圖片來源:USPTO

至於蘋果將觸控筆模組化之後,未來可能具備的功能究竟有哪些呢?

投影(The Projection Feature)

蘋果指出,投影可以用來顯示在表面上的圖像,並允許用戶透過移動觸筆橫跨投影圖像來編輯文檔。投影儀可以包括在基本模組內,或是放置於擴充模組中。突起電路包括一台投影機或其他合適的成像裝置,以彌補由投影電路而引起的投影表面失真。

圖五、蘋果觸控筆的投影功能示意圖
2AA. Apple invents the Modular Stylus - figs. 2,3,4
圖片來源:Patently Apple

相機功能(The Camera Feature)

從觸控筆專利的擴展模組中還發現提供攝影功能,可用於拍攝或存儲圖像。與模組聯繫在一起的無線通信電路,可將相機裡的影像資料傳達到桌上型電腦、筆記型電腦、平板等各種遠端電腦設備,也可以透過藍芽、Wi-Fi或3G、4G進行傳輸。

圖六、蘋果觸控筆的相機功能示意圖
7. Apple modular Stylus - expansion modules FIGS. 6,7,9
圖片來源:Patently Apple

音頻紀錄功能(The Audio Recording Feature)

蘋果的音頻記錄器包括一個播放記錄音頻數據的揚聲器,擴展模組還可以具有多個按鈕、開關或其它輸入設備,提供用戶執行一個或多個錄音,也能停止、播放、快轉和倒轉。音頻紀錄功能與相機功能相同,能將錄音檔傳送到其他遠端設備,像是iMac、MacBook、iPad等裝置。

圖七、蘋果觸控筆的音頻紀錄功能示意圖
7. Apple modular Stylus - expansion modules FIGS. 6,7,9
圖片來源:Patently Apple

由於iPhone 6及iPhone 6 plus熱銷,蘋果下一步可能捨棄銷售乏力的iPad mini系列產品,主力轉向大尺寸的iPad Pro。光是變化螢幕大小仍不夠,藉由搭配觸控筆這項新配件,將能衍生出許多新花樣,不過觸控筆並非必需品,因此在價格考量下,推估只會以配件方式提供消費者選購。

觸控筆重返主流 台廠「筆」畫高下

提到國內開發製造觸控筆的廠商,首先會想到觸控IC廠商義隆電子(可參考北美智權報96期文章「摸得到的觸覺回饋 vs. 摸不到的懸浮觸控」),義隆電在觸控筆方面布局已久,初期開發較為低價觸控筆,兩年前就曾經領先推出懸浮技術的觸控筆,可在筆上加入按鈕、感應Z軸壓力度,手掌也可放在螢幕上休息。(註2)今年MWC大會上,義隆電公開發表主動式電容觸控筆,預計在上半年陸續出貨。

2010年在Kickstarter平台上募資成立的Adonit,則由一群出身於蘋果的台灣及美國科技菁英組成,他們企圖扭轉外界對於觸控筆只是「配角」的印象,研發出Adonit「Jot Series」觸控筆,其中「Jot Touch」藍牙觸控筆更可結合各種APP軟體,在平板電腦上做高精準度的書寫,且能兼容所有電容式觸控螢幕,像是iPad、iPhone、Mac Book Trackpad、Magic Trackpad、HTC、Samsung、Nokia等。

圖八、Adonit 推出的iPad專用壓力感應觸控筆「Jot Touch」,是全球第一款與Adobe Creative Cloud搭配的觸控筆。
http://www.aiplife.com.tw/upload/editor/images/JTPP-1(1).jpg
圖片來源:艾品科技官網

圖九、Adonit「Jot Touch」具有防掌觸及壓力偵測等智慧功能。
http://www.aiplife.com.tw/upload/editor/images/JTPP-2(1).jpg
圖片來源:艾品科技官網

行動裝置大螢幕趨勢今年將繼續發酵,繼蘋果iPhone大改版熱銷後,市場期待下一波將會輪到iPad,加上各家廠商紛紛推出大尺寸的觸控筆電,若觸控筆能抓緊這波熱潮,將是東山再起最好的機會。

 

備註

  1. 參考資料:A Spectacular iPen Patent from Apple Surfaces in Europe.
  2. 參考來源:自由時報「蘋果將推智慧觸控筆 義隆電 順勢大撈金」

 

作者: 吳碧娥
現任: 北美智權報資深編輯
學歷: 政治大學新聞研究所
經歷: 驊訊電子總經理室特助
經濟日報財經組記者
東森購物總經理室經營企劃

 


Facebook 在北美智權報粉絲團上追踪我們