美国专利
  中国专利
欧洲专利
  台湾专利
  其他国家专利
 
 

专利法规专栏
  美国专利
從口頭辯論中學習美國專利實務I
作者/北美智权法规研究组 谈定宇
2008/07/31

在频繁的侵权诉讼新闻中,每当有最终判决出现时,大家第一个想到的就是找出判决书看看法官是以那些原则或准则来判定是否侵权。本文却想从另一个角度、另一种参考资料来揭露诉讼过程里,在法官、原告、被告各自口头表述的坚持下,我们可以学到一些什么。

文章綱要
案例探讨一:存在与不存在的比较

案例探讨二:「部份」不包括「完全」

因此,本篇文章是笔者以聆听美国联邦巡回上诉法院 (Court of Appeals for the Federal Circuit, CAFC) 之口头辩论 (Oral Arguments) 后所整理出的感受及心得。以下两篇案例的口头辩论内容是来自于http://oralarguments.cafc.uscourts.gov/的MP3 文件,希望能够透过这种宛如亲临联邦巡回上诉法院的真实感,找出在美国专利实际运用时对读者有用的信息。

案例探讨一:存在与不存在的比较


你一定很好奇,存在与不存在有什么好比较的,不就是一个有、一个没有吗?可是在专利说明书的撰写上,一个组件的存在可能会限缩了专利的保护范围,而一个事前就做好专利回避攻防计划的人,他也可以适当的描述及保护一个不存在组件的实施例来充分保护所申请的专利。

【案件简介】
美国联邦巡回上诉法院「CAFC」案号:2007-1241(TIP SYSTEMS v. PHILLIPS & BROOKS/ GLADWIN) 。本案件的发明是关于监狱里供犯人所使用的电话装置,特别是具备了一种比较 「 安全的 」电话机听筒,意指能防止犯人滥用的电话装置。

【图标简介】
以下列出与此案相关的一些重要图标,分别是原告第 '169专利 (美国专利 6,009,169)之FIG. 1及FIG. 3,以及原告第 ‘828专利 (美国专利 6,512,828 )之FIG. 3。从第 '169 专利的两张图标可以看出,此电话机装置包括了一支把手 (handle) 、一个听筒 (handset) 、和一传话筒。而该把手的功能是搭配另外两个支架 (brackets) 来扣住电话机装置,除了达到固定的作用外,尚有连结听筒及传话筒在一起的功能。但被告的电话机装置是用另一种支架分别扣住听筒及传话筒,并且只包括听筒、传话筒和支架装配,而没把手。



【口头辩论】
出席法官:首席法官 Michel 、巡回法院法官 Prost 、美国国际贸易法院法官 Pogue 。

本案之口头辩论,其讨论重点似乎是放在均等论 (Doctrine of Equivalents , DOE) 上 。有趣的是其中一位出席法官在辩论一开始就马上提醒原告律师 Gary Samms( 代表 TIP 系统 ) ,应该晓得所有出席的法官多少都已研读过该案的相关背景资料,所以在这种情况下,不需要再浪费大家的宝贵时间来讨论该案件的背景事实。

由此,原告律师进入主题,开始说明第 '169 专利的 FIG. 3 已揭露了本案重要的电话机装置──听筒,并且该听筒包括了一支把手。他并强调,该电话机听筒是包括一支把手、一个听筒、和一传话筒在一块的。另外,原告律师表示他们的论据是 来至 于均等论:也就说相当于该把手的结构即均等为「没有」把手的一样。

其中一位出席法官回应表示,以上论点听不太懂。 因此 原告律师 Gary Samms 补充说明,就 「字面上」而言,该把手确实没有能以相同的结构来替换的对象, 但是 他认为「实际上」真正如同把手的均等结构应该是指:譬如该被告的装置中所使用的「两个支架」,其功能即是分别用于扣住听筒及传话筒并也维持听筒及传话筒之间的距离。另外,他又从原告的电话机听筒来说明该把手的功能是,用于搭配两个支架来扣住该电话机听筒以保持固定及维持听筒和传话筒之间距离的作用。

被告的电话机听筒装置是用支架分别扣住听筒及传话筒。这里的支架被原告律师 Gary Samms 认定为与原告第 '169专利的把手及支架视为均等。他另外强调有用螺丝固定并安装该支架,因此他认为用螺丝来固定对于均等论来说是扮演很重要的一件因素。

其中一位出席法官回覆说:他想知道上述分析是否是将原告的第二个 '828 专利视为无效的,因为他认为在原告的均等论考量下,第二个专利根本是没有必要的,而且也是无效的。该法官认为在均等论考量之下,原告的电话机听筒包括了:把手、听筒、支架装配和传话筒在一块,因此应当是无法与被告的电话机听筒视同为均等的,因为被告的电话机听筒只包括了:听筒、传话筒和支架装配,但没有把手。

有趣的是,为了说服以上几位法官,原告律师 Gary Samms 还提出了以下类推: 如果有一权利项具备A、B、C及D组件,而侵权产品如果只包括了A、B和C,但其B和C提供了相同于前一专利的D的功能,那就是侵权了。然而,法官认为许多过往的判例经验指出:如果任何一个权利限制是明确地被表达出来的话,那就不能被忽视掉。也就是说既然有包括,就应当视为是重要的。因此,该权利限制项是不能被忽略掉。

被告律师 John Schneider 是 来自于德州休斯顿的 Fulbright & Jaworski 律师事务所,在该口头辩论庭中,主要以均等论及权利范围之解释 (claim construction) 做为主要说明 。被告律师 John Schneider 首先解释:该第 '828 专利的听筒和传话筒是分开的。该第 '828 专利与第 '169 专利相比之下,似乎看得出来是显而易见的变化形态。他认为在第 '828 专利,原告是被迫去删除掉「handset」才克服了审查委员的 驳回 。

被告律师又强调说:按照案件历史来看,可看出如果原先专利审查时原告针对「没有把手」及 「有把手」的均等性若没能做出辩护,那应当可推论为原告在当时并不认为是如此,也就说原告原本可以说以上均等性是按照 固有 / 本质上 (inherent) 的支持为其说明依据 , 来争取以上的 均等性,但很明显的是,他们并没这样做 。

被告律师另外强调: 原告在辩论当中 , 并没有使用完整的均等论判断原则,即功能 - 手段 - 结果 ( Function-way-result) 三部分析法来检验比较 。 譬如说,与第 '169专利相比之下被告的装置并不是使用固定式的把手,而却是用可拆式的支架装配来固定住听筒和传话筒,因此使用的固定「手段」(way)即是不同的。(另外虽然原告的第 '828专利的听筒和传话筒也是分开的,但是被告和'828专利的装置在整体相比之下,是不同的。)

然而,法官好像听不太懂以上 被告律师所提出 的「手段」 (way) 论点,特别是有关于固定式及可拆式的区别性,因此被告 律师 John Schneider 又继续 解释,该 可拆式支架装配可额外分别拆取听筒和传话筒,因此将可方便于后续的维修 。

【法院判决】
法官认为原告并没有在第 '169专利的说明书内揭露任何不包含把手的教导,并且也无法以第二个专利 '828专利的揭露来作为其提告侵权的支持,因为第 '828专利内文中是没有「handset」的。另外,法官来认为第 '169专利的把手是很清楚定义为必要的组件,所以是不能被忽略掉的。因此联邦巡回上诉法院「CAFC」的判决是与地方法院的判决一样,也就是说被告的电话机听筒相对于第 '169专利及第 ‘828专利并没有任何专利侵权,因为法官不认同该被告之「没有把手」的电话机听筒是和第 '169专利的「有把手」的电话机听筒是属于均等的。


【笔者看法】
整理完以上的探讨后,笔者生成了一些看法,希望与大家一起分享:
1. 看来以均等论的 功能 - 手段 - 结果判断原则来检验的话, 被告的 可拆式支架装配与原告第 '169 专利 FIG. 3 的固定「手段」 (way) 即是不同的 。
2. 一个不存在的组件既然可以跟存在的组件做为 均等性比较,也就说一个「把手」的结构是否均等于「没有把手」?这是蛮有趣的一种比较 。
3. 原告的 第 '169 专利及 第 '828 专利似乎在原来撰写时对于回避设计的攻防策略都没能做足 ,因此导致后来的其他人很容易就能避开原告的保护范围 。

案例探讨二:「部份」不包括「完全」

部份与完全对我们一般人而言,可能是很容易理解与分辨的词汇,但放在专利说明书及权利项中,甚至成为侵权诉讼官司的佐证资料时,每个人各自不同的认知可能对诉讼案的判决生成莫大的影响,一字之差就可能让你无法好好的保护你的专利。

【案件简介】
美国联邦巡回上诉法院「CAFC」案号:2008-1027 (BROCAR v. BOBRICK WASHROOM EQUIPMENT) 。本案件的发明是关于一个婴儿换尿布的台子。

【图标简介】
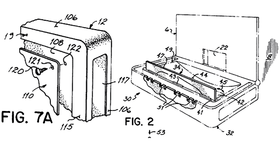
以下列出与本案相关的的一些重要图标,分别是 FIG. 1 、FIG. 1A 、FIG. 7A 、FIG. 2 、FIG. 4B 。该 婴儿换尿布台具有一个平台 (platform)( 即 图标中 编号32 、60 、12 、204) ,当该平台向上扣住时,平台就会被置于关闭位置,此时平台其表面 (即图标中编号18) 是被隐藏着的。请参照 FIG. 1 、FIG. 1A 及 FIG. 7A 的图标 ,就能看到该平台的表面18 及底面19 。




【口头辩论】
出席法官:巡回法院法官Mayer 、巡回法院资深法官Friedman 、及巡回法院法官Moore 。

本案之所以上诉到CAFC,其争论点在于BROCAR公司不满地方法院对于该平台之上表面是「部份地被隐藏着」 (partially hidden from view) 的权利范围之界定。因为该地方法院对「部份地被隐藏着」的定义是有部份被隐藏着但不是完全被隐藏。

口头辩论中,有一名法官说,每一个实施例和每一个图标都显示该平台是「完全地」(completely) 隐藏而并非是「部份地隐藏」。而另一名法官则提问说:为什么该专利在说明书都没有包括「部份地隐藏」的说明,「部份地」应当不是一个模糊的东西,并且应该很容易说明。他进一步举例说明他的认知是,如果当有人说到「我准备好一部份了」应当不会被当成是「我完全准备好了」,因此部份与完全应该是不相同的。

虽然 BROCAR 的 原告 律师表示: 权利项不是我写的 (I didn't draft the claims) ,但 他也另外提出该发明人可能也想要涵盖到「完全隐藏」的较佳实施例,因此才会以这样的方式来陈述他的专利。

而被告律师 Glenn D. Bellamy 则说出以下几个重要的反驳论点:
1.
权利项中明确的说明是「 部份地 」。
2.
权利项的内容应当被视为是主宰的部份。
3.
该所争议的权利项本身就是揭露一个新的实施例,因为原先权利项的内文本来就是属于整个发明揭露的一部份。因此,即使该权利项就算并没有具体详细描述,它还是揭露了一个新的实施例。说明书则描述了更加通用通用情况,即是「 generally hidden from view 」。
4.
他声称说明书所揭露的是其中一种 (species) ,但是权利项所保护的范围却是另外不同的一种 (species) 。
5.
被告 律师认为原告并 没有提供任何证据来支持其「 部份地」 定义为「完全地」的诉求论点,唯一有可能被解读为有关联的即 是该所有说明书的 揭露都不包含该「 部份地」 的说明,就算是以隐藏说明的角度来看好像是如此。
6.
被告 律师认为 一般习 知技艺者应当 知道「 部份地」就 是指部份而已,而不包含 「 完全地 」 。

BROCAR 原告律师辩称,判例法通常提示不允许排除以较佳的实施例来解读任一权利项的权利范围,因此他也引用了 Vitronics Corp. v. Conceptronic, Inc. , 90 F .3d 1576, 1583 (Fed. Cir. 1996) 判例做为依据 (stating a construction that excludes the preferred embodiment “is rarely, if ever correct and would require highly persuasive evidentiary support”) 。

但是一位法官马上反驳说,我们的法庭判例法有提到的是在当一个权利范围名词具备多个普通意义与内部证据为一致时,该权利范围名词的 解读是不应该违背已经所揭露的 实施例。在本案,最困难的事情是:很难将「 部份地」 的 名词在以一般普通意义定义之下 ,解读为「完全地」。

【法院判决】
基本上,法官认为 「部份地被隐藏着」 在一般通用 意义(plain meaning)之定义下是不应该包 括 「完全地被隐藏着」(totally hidden from view) 。而原告与被告双方都同意该「 部份地」的定义并没有采用 词典编纂者(lexicographer) 的定义方式 。另外本案之 法院判决意见也提到,该包 括 「部份地被隐藏着」 的相关权利项是不被 解释为涵盖到 较佳实施例或其他的实施例。基本上,法庭不能改写权利范围的内文的。 因此联邦巡回上诉法院的判决是完全附和地方法院的「部份地被隐藏着」定义是为部份被隐藏着但并不是完全被隐藏的。


【笔者看法】
整理完以上的案例后,笔者的看法与疑问如下,与大家一起分享:
1. 被告律师 Glenn D. Bellamy 所指出的:「该所争议的权利项本身就是揭露一个新的实施例,因为原先权利项的内文本来就是属于整个发明揭露的一部份」,此一反驳论点看来是很重要的。
2.

笔者很好奇的是:为什么发明人会把「generally hidden from view」改成「partially hidden from view」在权利范围内 ?

3. 假设原告发现到权利范围的「partially hidden from view」是不太好的,那为何不把此专利提出 REISSUE 申请,然后把权利范围的「partially hidden from view」再想办法改成「generally hidden from view」 ( 该用语有出现在说明书内 ) ,或许「generally hidden」比较接近「completely hidden」或「totally hidden」。

 
■相关文章