(一)专利字号:
美国专利 7,012,235
(二)标题:
Image sensor ( 影像侦知器 )
(三)摘要 :
在设计长的影像侦知器之情况,必须使用合乎读取宽之专用之棒形透镜数组,有不得不用昂贵之棒形透镜数组之问题。又,因长,有棒形透镜数组个体之弯曲引起影像之读取性能恶化之问题。一种影像侦知器,包括:光源,对原稿照射光;复数棒形透镜数组,结合成位于令原稿所反射之光聚光之棒形透镜数组之最端部之棒形透镜相接触;密封剂,充填于位于该最端部之棒形透镜之间;感光组件,在既定之读取宽接受在棒形透镜数组所成像之光;以及机架,经由缓冲构件固定连续配置之棒形透镜数组。然而可作出具备复数个短的 ( 普通型 ) 棒形透镜数组的长的影像侦知器。 (此段中文内容取自于智能财产局专利数据库)
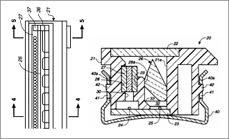
(四)代表图示:
(五)本专利所被解决的问题
A. 解决应力作用问题
此一专利个案之所以能解决应力作用所造成的问题,是藉由三件主要的组件来完成,其一是 位于相邻配置之棒形透镜之最端部之棒形透镜间之间隙充填密封剂,其二是用涂抹成覆盖在位于相邻配置之棒形透镜之最端部之棒形透镜间之间隙充填密封剂固定连续配置之复数该棒形透镜高数组和机架,其三是经由缓冲构件将连续配置之复数该棒形透镜数组固定于机架。
B. 解决影像模糊问题
由于在棒形透镜之间有间隙,因此在这间隙中填充入密封剂,因而使得光线不会自棒形透镜以外的部位通过,进而解决在连接部份所产生的影像模糊问题。
首先,我们将专利质量指数的总分先设定为 20 分,再根据以下的问题进行研究与分析,进而取得最后的总得分。在此提醒,此一 专利质量检验共分为三大类来评比,分别是 A. 专利有效性(检验题 1~6 )、 B. 专利是否不易回避设计(检验题 7~9 )、以及 C. 符合专利法规及最佳实务典范(检验题 10~14 )。
题号 |
检验题目 |
答 案 |
得分 |
| A. 专利有效性(检验题 1~6 ) |
1. |
请评估该项专利在过去申请历程中,是否已采用美国巡回法院Teaching–Suggestion–Motivation (TSM) 的准则来检验其专利性? |
答YES,
请续答第2题 |
-1分 |
答NO,
请跳答第3题 |
不扣分 |
分析:
美国专利申请案号 # 10/874,203 (美国专利 7,012,235 的申请案号 ) 的申请历程显示没发出任何答辩,因此并无引用 TSM 的准则来检验其专利性 。所以此检验题的答案是 NO,不扣分。
分析:
因为第一题答案是 NO,所以跳过此一检验项目。
3. |
请评估之前的专利申请过程,是否包含足够的国外专利文献被引用在核驳答辩、IDS、或申请中(总共最少三个以上及最少一个以上来自于核驳答辩)? |
答YES,
请跳答第5题 |
不扣分 |
答NO,
请续答第4题 |
-1分 |
分析:
本专利申请历程指出有三件国外专利申请案引用于 6/24/2004 提交的 IDS 内,但并没有在别处找到国外 ( 是指美国以外 ) 专利文献 。因不符合以上「最少一个以上来自于核驳答辩」的条件,因此此一检验题的答案是NO, 扣 1 分 。
4. |
使用日本、欧盟、WIPO或中国专利文献以主类/次类,关键词/布尔来进行前案检索搜寻(可参照www.patentlens.net)。此检验项目的目标是最好要能找到次要的前案。因此请评估是否有找到重要的前案? |
答YES,
请续答第5题 |
-5分 |
答NO,
请续答第5题 |
不扣分 |
分析:
主类 / 次类搜寻结果为:G02B 27/10, G06T 1/00, H04N 1/028,关键词/布尔搜寻结果为:image sensor, rod lens array, frame, light , etc …,找到的前案:JP 2000-278972, JP 2001-132538 ( 有可能是显而易见的前案 ),因此测验结果是通过,所以此一检验题的的答案是 NO,不扣分。
5. |
使用来自于www.sparkip.com 的群组(cluster) 以关键词/布尔及每个群组项目中的重要专利线索(以关键词/布尔)来进行前案检索。请评估是否有找到重要的前案? |
答YES,
请续答第6题 |
-3分 |
答NO,
请续答第6题 |
不扣分 |
分析:
群组 Cluster 信息: optical bar code (scanning, scanner, reader) & optical imaging copier (lens, array, index) , 使用 sparkip.com 做搜寻 , 输入: US 7,012,235 并且以以下关键词搜寻: image sensor, rod lens array, … 等关键词找到。
A. 美国专利 #5,859,421:

B. 美国专利 #5,038,027:
6. |
使用 Scirus、Google Scholar、Google、美国德州Rice大学Connexions进行非专利文献检索。请评估是否有找到重要的非专利文献(prior art)? |
答YES,
请续答第7题 |
-2分 |
答NO,
请续答第7题 |
不扣分 |
分析:
以 www.scirus.com 进行检索,找出非专利文献,但未能找到合适的非专利文献。因此调整改为搜寻专利文献。另外基于本篇文章篇幅的考虑, 此项目仅以上 scirus.com 作简介概述 。
检索结果 : 美国 申请公开号 20020015145


依照以上的专利申请文献,本专利看来是具有可专利性,因为重要的前案没有找到,因此答案是NO,不扣分。
| B. 专利是否不易回避设计(检验题7~9) |
7. |
根据所有权利范围的权利项,提问是否「可能侵权者」只需侵犯到相关权利项的「局部侵犯权利范围」而并非所有特征就有可能被认定为专利侵权? |
答YES,
请续答第8题 |
-3分 |
答NO,
请续答第8题 |
不扣分 |
分析:
此一专利的专利范围第 1 项所包括的个别组件,如:光源、棒形透镜数组、感光组件、以及机架都是不容易被删除掉的部件。而且很难想象如何 在克服本专利所解决的问题之前题下,能做出「非均等但 又 可替代」的影像侦知器之回避设计。因此答案是 NO,不扣分 。
8. |
按照所有权利项的权利范围,提问是否「可能侵权者」只需策略性的修改一或多数的权利项特征/限度就有可能成功地避开侵犯权利范围(就算已考虑了均等论的情况下)? |
答YES,
请续答第9题 |
-4分 |
答NO,
请续答第9题 |
不扣分 |
分析:
依照分析的结果,专利范围第 1 项具备的可专利性的特征包括:
| |
棒形透镜数组,在直线上将令该被照物所反射之光聚光之各个棒形透镜排列成各自隔离,而且相邻配置成位于在直线上排列之该棒形透镜之 最端部 之棒形透镜相接触 |
然而以上特征是很难被回避设计躲过,因为 棒形透镜之 最端部 之棒形透镜相接触是几乎一定要的。不然的话,100% 全宽度的读 取则无法达成。而且,比较容易被回避设计躲过的 其它 申请专利范围 可专利性的特征 却只在,譬如:附属项第 3 项 - 第 5 项,因此如果他人无法避开 专利范围第 1 项或第 2 项,也是没多大用处的。所以测验结果通过,则答案是 NO,不扣分 。
9. |
申请过程中,提问是否 「关键」的专利回避设计特征/组件是均等但不完全相同于有被受到限缩修正的,且不只局限于同均等物为几无关系的? |
答YES,
请续答第10题 |
-4分 |
答NO,
请续答第10题 |
不扣分 |
分析:
根据 PAIR 数据显示,在申请过程中并未包含有限缩之修正,因此测验结果是通过,所以答案是 NO ,不扣分 。
| C. 符合专利法规及最佳实务典范(检验题10~14) |
10. |
评估是否所有权利项组件是符合美国专利法35第112条第一及二项--相关于是否为不确定或具备精确及明确性? |
答YES,
请续答第11题 |
不扣分 |
答NO,
请续答第11题 |
-2分 |
分析:
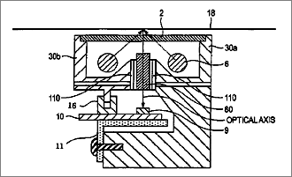
Claim 7 :权利项组件,美国专利法 (35 U.S.C.) 第 112 条第二 项 “ spacers allowing an adjustment of an inclination of each of the rod lens arrays ”。说明书:“ An effect similar to the effect of projecting the adjustment screws 130 can be obtained by correcting the inclination of each rod lens array 80 by inserting, in advance, minute spacers having a thickness of about 0.03 mm or like members between the rod lens arrays 80 and the frame 30. ”。 详细情形 请参照此一专利的说明书中第九图及相关叙述。因此测验结果是:符合美国专利法,因此答案是 YES ,不扣分 。
11. |
提问说明书揭露内容是否包含较差、难阅读或难于理解的英语? |
答YES,
请续答第12题 |
-2分 |
答NO,
请续答第12题 |
不扣分 |
分析:
此份说明书中英语较差的部份是“ necessarily fixed to the frame 30 irrespective of peeing positions of the double-sided adhesive tapes ”,以及“ Rod lenses close to each other of adjoining rod lens arrays produces different image forming positions, electrical corrections for positional deviations between the image writing lines are needed in writing. ” 等等 … . 。根据经验判断,本篇专利的原稿应该是以日文撰写,然后 才翻译成英文的,否则 peeling 就不会写成 peeing 了。因此 答案是 50% YES,所以只扣 1 分。
12. |
是否权利项覆盖范围是均匀? ( 具备好的宽 / 窄混合权利项覆盖范围 ) 是否所有揭露的实施例有被专利权利项范围所覆盖? (不包括特别例外状况) |
答YES,
请续答第13题 |
不扣分 |
答NO,
请续答第13题 |
-3分 |
分析:
本发明所教导的删除局部棒形透镜数组的方法 ( 请参照此一专利的说明书中的图 4A & 4B) ,以及不同种棒形透镜数组的配置看来是并没有包含在权利范围之内。 因此答案是局部 NO,测验结果 = 50% 通过,扣 1.5 分。
13. |
提问权利项的前言,权利范围是否为不必要的狭窄?提问是否权利项数量不足? |
答YES,
请续答第14题 |
-1~2 分 |
答NO,
请续答第14题 |
不扣分 |
分析:
A. 是否权利项之前言太过狭窄?答案: NO 。
B. 是否独立权利项的权利范围太狭窄?答案: NO 。
C. 是否权利项数量不足?答案: YES 。
因为 C 项的权利项数量不足,因此认为此一检验题的答案是 30% YES ,扣 0.5 分。
14. |
提问是否有违其它专利法规情况发生?譬如:格式不符、缺乏前置基础、违规的权利项重复性、缺少适当的 Incorporation by Reference 等等。 |
答YES, |
-1~2 分 |
答NO,
|
不扣分 |
分析:
由于看不出有重大的违规情况发生。因此此一检验题的答案 NO,不扣分。
计算总分:
根据套用以上 14 个检验项目的分析与检验,共有四题需要扣分,分别是第 3 题的 1 分、第 11 题的 1 分、第 12 题的 1.5 分、第 13 题的 0.5 分,总计扣分数为 4 分。因此,此篇专利质量的总分是: 总指数分数 20 分 – 4 分 =16 分。
在此必须提出说明的是,此一 专利的质量检验是以个别单一专利来进行评鉴,因此刻意地去除了额外考虑其它 ( 其个案有可能存在的) 专利家族 (patent family) 成员的相互作用。并且,本篇专利质量检验方法不包括:来至于诈骗行为 (fraud) 、不公平行为 (inequitable conduct) 、或违反揭露之义务作为撤销专利等等因素在内。
另外,在此引用本所总经理许锺光先生曾经 在经济部智慧财产局论坛中所 表达过的内容做为此篇文章的结语:「 … 我们提出这一篇文章的用意,就是希望能够抛砖引玉,让专利界能够共同正视这个问题,并且拿出来讨论。或许在综合各界多方面的意见后,大家就能够在专利质量的这个议题上形成一些清楚的共识,让专利界与工业界都能够就这个专利质量的共识来订出一些完整的教育训练方案以及质量检验的标准程序,这对所有专利界和工业界的人来说都有好处。这就是我们写这一篇文章的基本用意,还请专利界的各方贤达多多指教,谢谢!」
|